授权公布号:CN208816811U
防止液体持续泄露的装置
有效
申请
2018-09-07
申请公布
1970-01-01
授权
2019-05-03
预估到期
2028-09-07
| 申请号 | CN201821461343.8 |
| 申请日 | 2018-09-07 |
| 授权公布号 | CN208816811U |
| 授权公告日 | 2019-05-03 |
| 分类号 | F16K31/143 |
| 分类 | 工程元件或部件;为产生和保持机器或设备的有效运行的一般措施;一般绝热; |
| 申请人名称 | 阿里斯顿热能产品(中国)有限公司 |
| 申请人地址 | 江苏省无锡市新吴区国家高新技术开发区新加坡工业园行创一路9号 |
专利法律状态
2019-05-03
授权
状态信息
授权
摘要
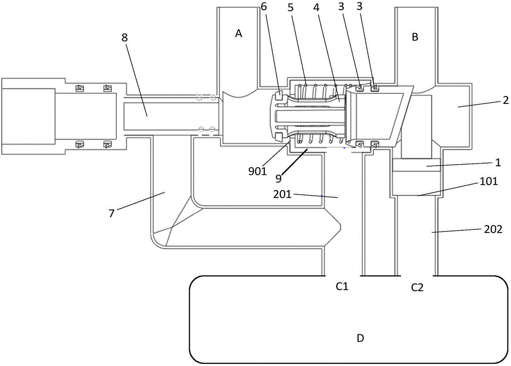
本实用新型提供一种防止液体持续泄露的装置,包括滑块、壳体、第一密封件、阀芯、复位弹簧、第二密封件、阀体;所述壳体的左端连接有进液端,右端连接有出液端;在壳体的中部设有阀体;阀体位于进液端与出液端之间;所述阀芯设置在阀体中;复位弹簧套设在阀芯上,复位弹簧的左端与阀体内腔左端相抵,复位弹簧的右端与阀芯上的台阶相抵;阀芯的左端设置第二密封件;所述第二密封件位于阀体左端密封面的左侧;阀芯的右端设置第一密封件,第一密封件位于阀芯与壳体和/或阀体之间;所述阀体连通第一旁通管,阀芯右侧的壳体连通第二旁通管;阀芯右端设有斜面,滑块设置在壳体右端中,滑块的一端与阀芯右端通过斜面配合。该装置可自动防止容器持续泄露。


