授权公布号:CN214469300U
一种燃气采暖壁挂炉用分段燃烧装置
有效
申请
2021-01-15
申请公布
1970-01-01
授权
2021-10-22
预估到期
2031-01-15
| 申请号 | CN202120104309.0 |
| 申请日 | 2021-01-15 |
| 授权公布号 | CN214469300U |
| 授权公告日 | 2021-10-22 |
| 分类号 | F24H1/00;F24H9/00;F24H9/18;F24H9/20;F23N1/00 |
| 分类 | 供热;炉灶;通风; |
| 申请人名称 | 阿里斯顿热能产品(中国)有限公司 |
| 申请人地址 | 江苏省无锡市新加坡工业园行创一路9号 |
专利法律状态
2021-10-22
授权
状态信息
授权
摘要
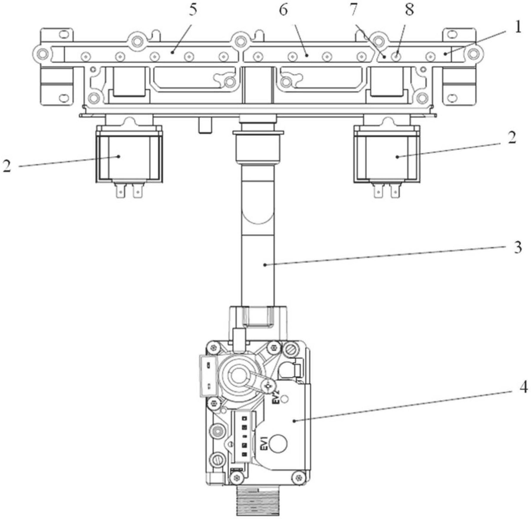
本实用新型涉及燃气采暖热水锅炉技术领域,公开了一种燃气采暖壁挂炉用分段燃烧装置,包括配气管、电磁阀、喷嘴和进气组件,配气管为分段式配气管,配气管内设置有多个独立的密封腔,每个密封腔内均安装有数量不相等的喷嘴,电磁阀安装在配气管上,进气组件安装在配气管的进气口上。配气管内设置有第一密封腔、第二密封腔和第三密封腔三个独立的密封腔,第二密封腔位于第一密封腔与第三密封腔中间。电磁阀有两个,每个电磁阀各对应一个密封腔。本实用新型能够实现分段式燃烧,使得燃气采暖壁挂炉能够保持多种功率输出,更加精细化的实现水温控制,保持水温的稳定性,提高用户的体验。


