授权公布号:CN211060162U
一种电动空气调节装置及系统
有效
申请
2019-10-24
申请公布
1970-01-01
授权
2020-07-21
预估到期
2029-10-24
| 申请号 | CN201921814320.5 |
| 申请日 | 2019-10-24 |
| 授权公布号 | CN211060162U |
| 授权公告日 | 2020-07-21 |
| 分类号 | F23N3/00 |
| 分类 | 燃烧设备;燃烧方法; |
| 申请人名称 | 北京庆东纳碧安热能设备有限公司 |
| 申请人地址 | 北京市顺义区马坡聚源工业区 |
专利法律状态
2020-07-21
授权
状态信息
授权
摘要
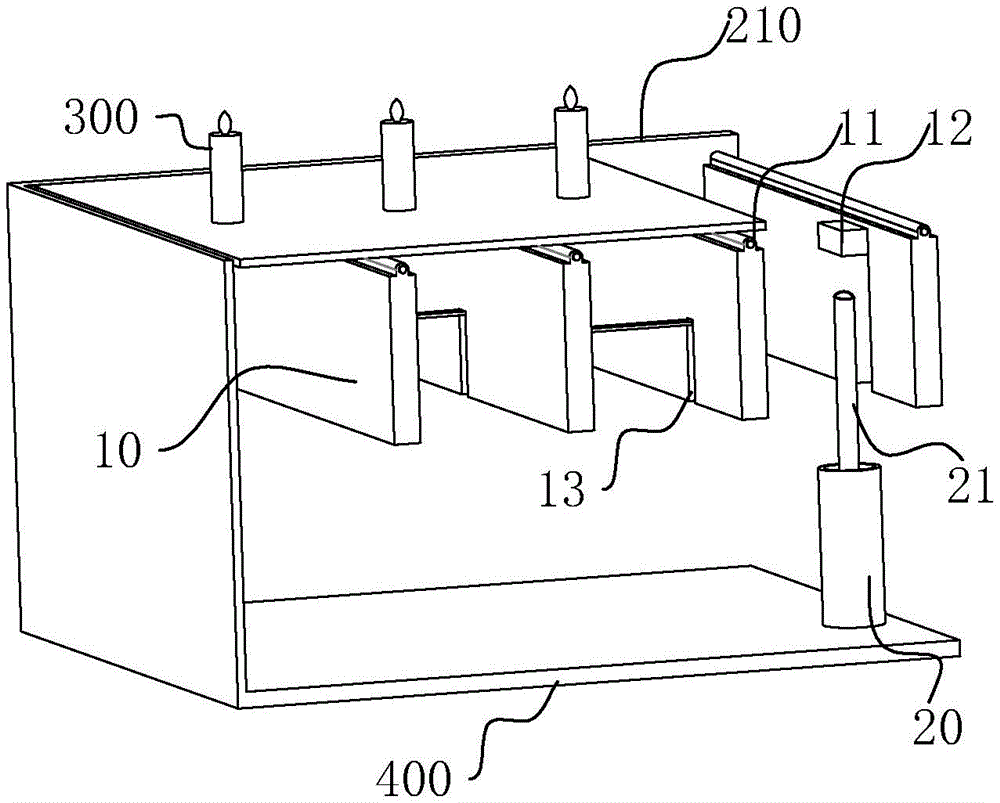
本实用新型涉及一种电动空气调节装置,其属于热能设备的技术领域,包括和支撑架转动连接的至少一个调节板和驱动装置,调节板的两端通过旋转轴转动连接在支撑架的两相对侧壁上,驱动装置包括电磁动力组件以及和电磁动力组件连接的驱动轴,电磁动力组件带动驱动轴上下运动,驱动轴推动调节板从竖直状态转动到水平状态。本实用新型具有避免空气过量造成的热量损失,有效提升燃烧效率、降低烟气中的CO含量,避免空气和燃气配比失调造成的爆燃,特别是对于小功率采暖炉,可以实现热水功率更大化。


