授权公布号:CN211177502U
一种吸附式冷藏容器用蒸发器
有效
申请
2019-08-06
申请公布
1970-01-01
授权
2020-08-04
预估到期
2029-08-06
| 申请号 | CN201921283483.5 |
| 申请日 | 2019-08-06 |
| 授权公布号 | CN211177502U |
| 授权公告日 | 2020-08-04 |
| 分类号 | F25B17/08;F25B39/02 |
| 分类 | 制冷或冷却;加热和制冷的联合系统;热泵系统;冰的制造或储存;气体的液化或固化; |
| 申请人名称 | 广州万宝集团有限公司 |
| 申请人地址 | 广东省广州市海珠区江南大道中111号 |
专利法律状态
2020-08-04
授权
状态信息
授权
摘要
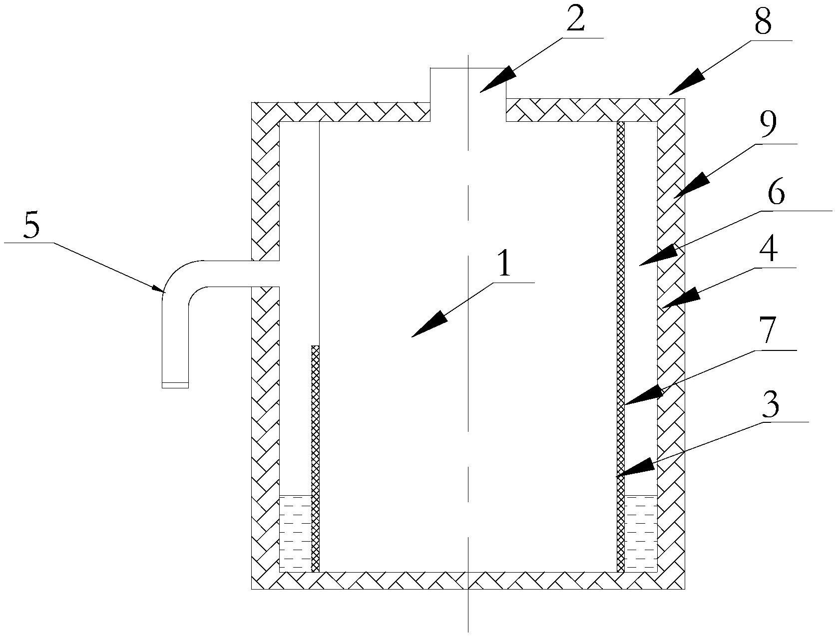
本实用新型公开了一种吸附式冷藏容器用蒸发器,包括壳体,内部形成冷藏内腔,壳体包括第一壳体部件;第二壳体部件,设在第一壳体部件的外侧,并与第一壳体部件连接,第一壳体部件和第二壳体部件之间形成第一夹层;第一壳体部件和/或第二壳体部件上设有与第一夹层连通的制冷剂接口;多孔材料,包裹在第一壳体部件的外表面,能够与第一夹层中的制冷剂发生毛细现象,以使制冷剂沿多孔材料扩散。壳体包括第一壳体部件和第二壳体部件,制冷剂能够通过制冷剂接口进入第一夹层中,多孔材料可以将液态制冷剂吸入,并通过毛细作用力将制冷剂扩散到整个吸水材料,制冷剂在蒸发时能够实现壳体中冷藏内腔的快速制冷,并解决冷藏区温度分层。


