授权公布号:CN106196759B
一种负压吸附式制冷系统用冷凝器
有效
申请
2016-08-31
申请公布
2016-12-07
授权
2019-09-13
预估到期
2036-08-31
| 申请号 | CN201610791678.5 |
| 申请日 | 2016-08-31 |
| 申请公布号 | CN106196759A |
| 申请公布日 | 2016-12-07 |
| 授权公布号 | CN106196759B |
| 授权公告日 | 2019-09-13 |
| 分类号 | F25B39/04 |
| 分类 | 制冷或冷却;加热和制冷的联合系统;热泵系统;冰的制造或储存;气体的液化或固化; |
| 申请人名称 | 广州万宝集团有限公司 |
| 申请人地址 | 广东省广州市白云区人和镇人和大街68号 |
专利法律状态
2019-09-13
授权
状态信息
授权
2017-01-04
实质审查的生效
状态信息
实质审查的生效;IPC(主分类):F25B39/04;申请日:20160831
2016-12-07
公布
状态信息
公布
摘要
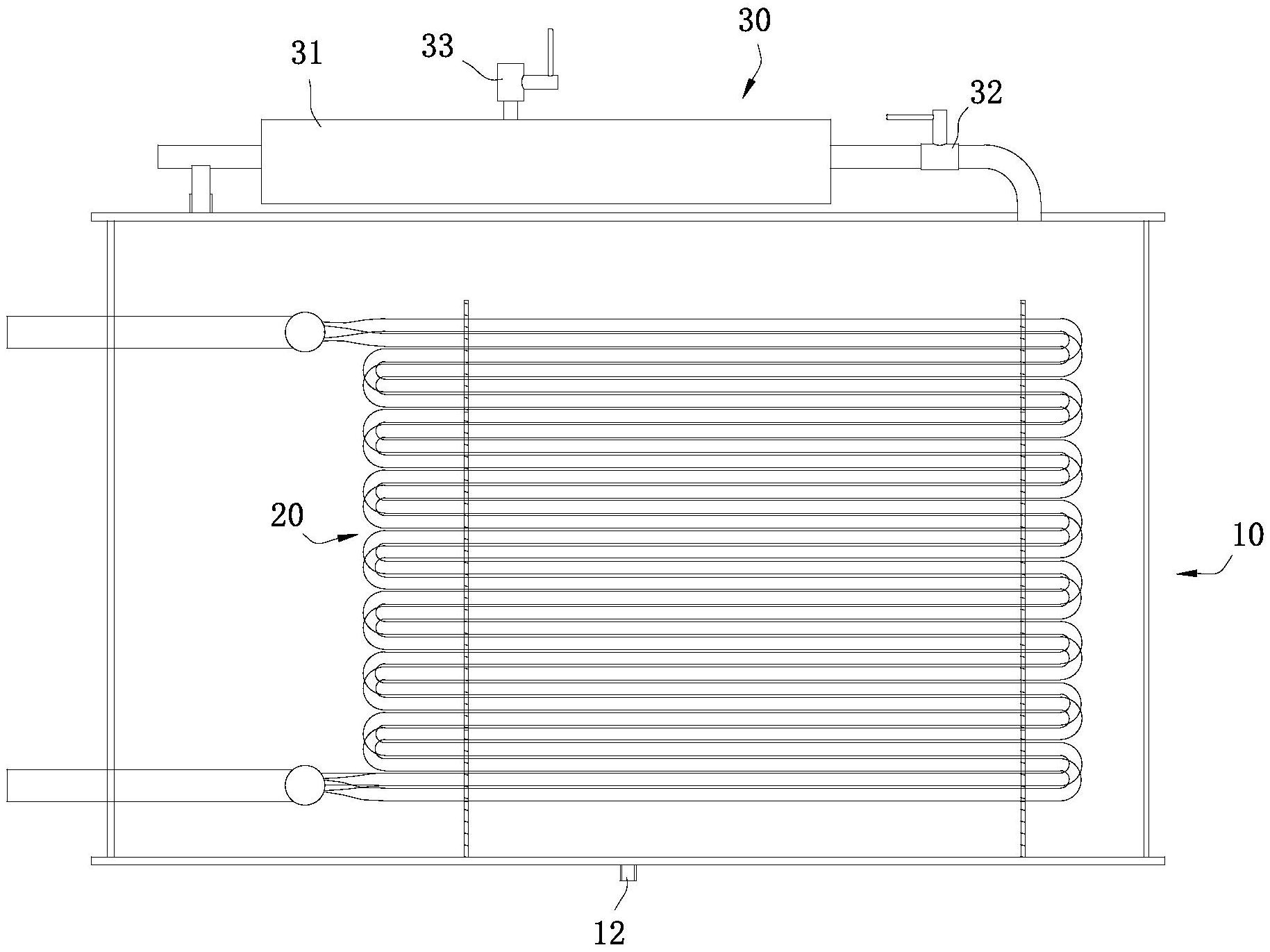
本发明公开了一种负压吸附式制冷系统用冷凝器,包括缸体和设置在缸体内腔用以构成冷却水回路的换热管道,在所述缸体侧壁上连接有至少两个蒸汽管道,各所述蒸汽管道分别连接有吸附床,所述缸体底部连接有回水管道,所述蒸汽管道、缸体内腔、回水管道相连构成一段制冷剂回路,在所述缸体顶部设有用以收集并向外排放不凝气体的气体排放装置,此负压吸附式制冷系统用冷凝器中,通过在缸体顶部设置气体排放装置,冷凝器工作产生的不凝气体会聚集于最高点,使得不凝气体收集储存在气体排放装置内,定时通过气体排放装置对不凝气体分离排放,以保证冷凝器的高效换热。


