授权公布号:CN217900196U
一种滑盖式外壳及燃气采暖热水炉
有效
申请
2022-07-01
申请公布
1970-01-01
授权
2022-11-25
预估到期
2032-07-01
| 申请号 | CN202221675295.9 |
| 申请日 | 2022-07-01 |
| 授权公布号 | CN217900196U |
| 授权公告日 | 2022-11-25 |
| 分类号 | F24H9/00;F24H9/02 |
| 分类 | 供热;炉灶;通风; |
| 申请人名称 | 广州迪森家居环境技术有限公司 |
| 申请人地址 | 广东省广州市广州经济技术开发区东区沧联二路5号 |
专利法律状态
2022-11-25
授权
状态信息
授权
摘要
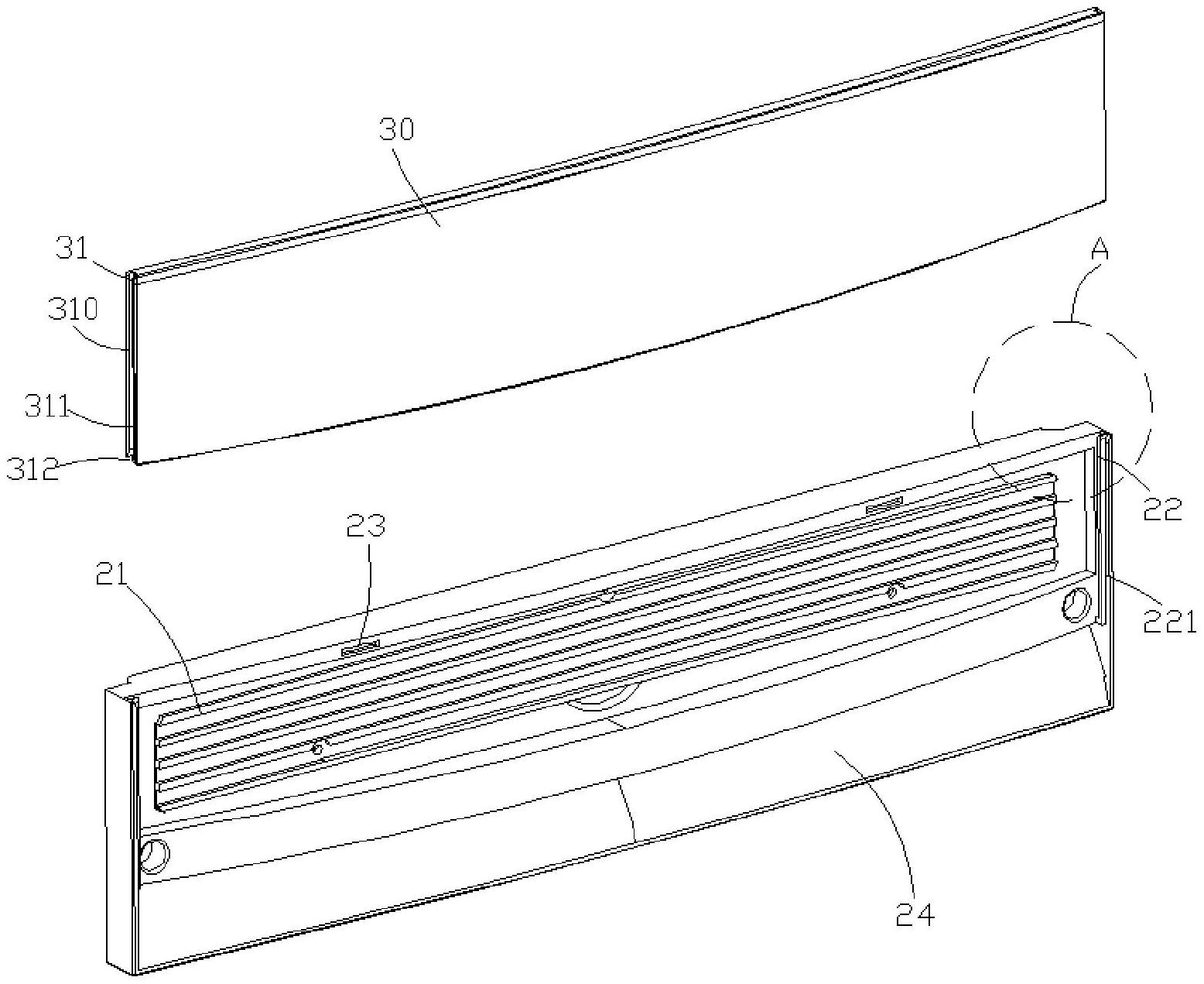
本实用新型公开了一种滑盖式外壳及燃气采暖热水炉,该滑盖式外壳包括主壳体、装饰主体及装饰面板;装饰主体安装在主壳体的上端部;装饰主体具有用于容置装饰面板的容置腔;装饰主体与装饰面板为滑盖式开合连接结构。上述滑盖式外壳通过在主壳体的基础上,设有装饰面板和装饰主体,装饰面板与装饰主体采用滑盖结构固定,装饰面板能够盖住装饰主体内的结构,同时滑盖结构打开方便,保持整体美观、协调,打开后,便于对外壳内的空气过滤器进行清洁。


