授权公布号:CN217603457U
一种具有排水结构的板换式出水阀及燃气采暖热水炉
有效
申请
2022-06-10
申请公布
1970-01-01
授权
2022-10-18
预估到期
2032-06-10
| 申请号 | CN202221438100.9 |
| 申请日 | 2022-06-10 |
| 授权公布号 | CN217603457U |
| 授权公告日 | 2022-10-18 |
| 分类号 | F16K27/08;F24H15/305 |
| 分类 | 工程元件或部件;为产生和保持机器或设备的有效运行的一般措施;一般绝热; |
| 申请人名称 | 广州迪森家居环境技术有限公司 |
| 申请人地址 | 广东省广州市广州经济技术开发区东区沧联二路5号 |
专利法律状态
2022-10-18
授权
状态信息
授权
摘要
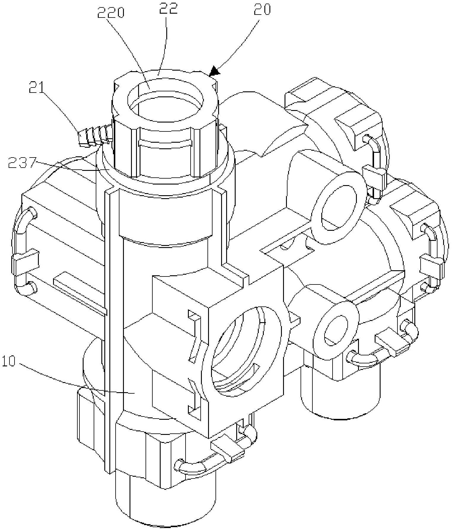
本实用新型公开了一种具有排水结构的板换式出水阀及燃气采暖热水炉,该板换式出水阀包括阀体及电机,阀体上设有阀芯、阀盖及联动轴,联动轴穿设于阀盖与阀芯相连,电机与联动轴相连,使阀芯在阀体内作轴向运动,阀盖的溢流口下方设有引流管。上述板换式出水阀在阀盖的溢流口下方设有引流管,引流管可以通过连接软管与外部排水设备连接,当水位还未到达渗漏时,及时将其排出,从而避免水渗漏后腐蚀钣金,也对电机作了进一步的保护。


