授权公布号:CN109059049B
一种改进的节能集成灶
有效
申请
2016-12-23
申请公布
2018-12-21
授权
2020-01-14
预估到期
2036-12-23
| 申请号 | CN201810537102.5 |
| 申请日 | 2016-12-23 |
| 申请公布号 | CN109059049A |
| 申请公布日 | 2018-12-21 |
| 授权公布号 | CN109059049B |
| 授权公告日 | 2020-01-14 |
| 分类号 | F24C3/00;F24C3/08;F24C15/00;F24C15/10 |
| 分类 | 供热;炉灶;通风; |
| 申请人名称 | 浙江潮邦厨具电器有限公司 |
| 申请人地址 | 浙江省嘉兴市海宁市尖山新区听潮路32号 |
专利法律状态
2020-01-14
授权
状态信息
授权
2019-01-15
实质审查的生效
状态信息
实质审查的生效IPC(主分类):F24C 3/00
2018-12-21
公布
状态信息
公布
摘要
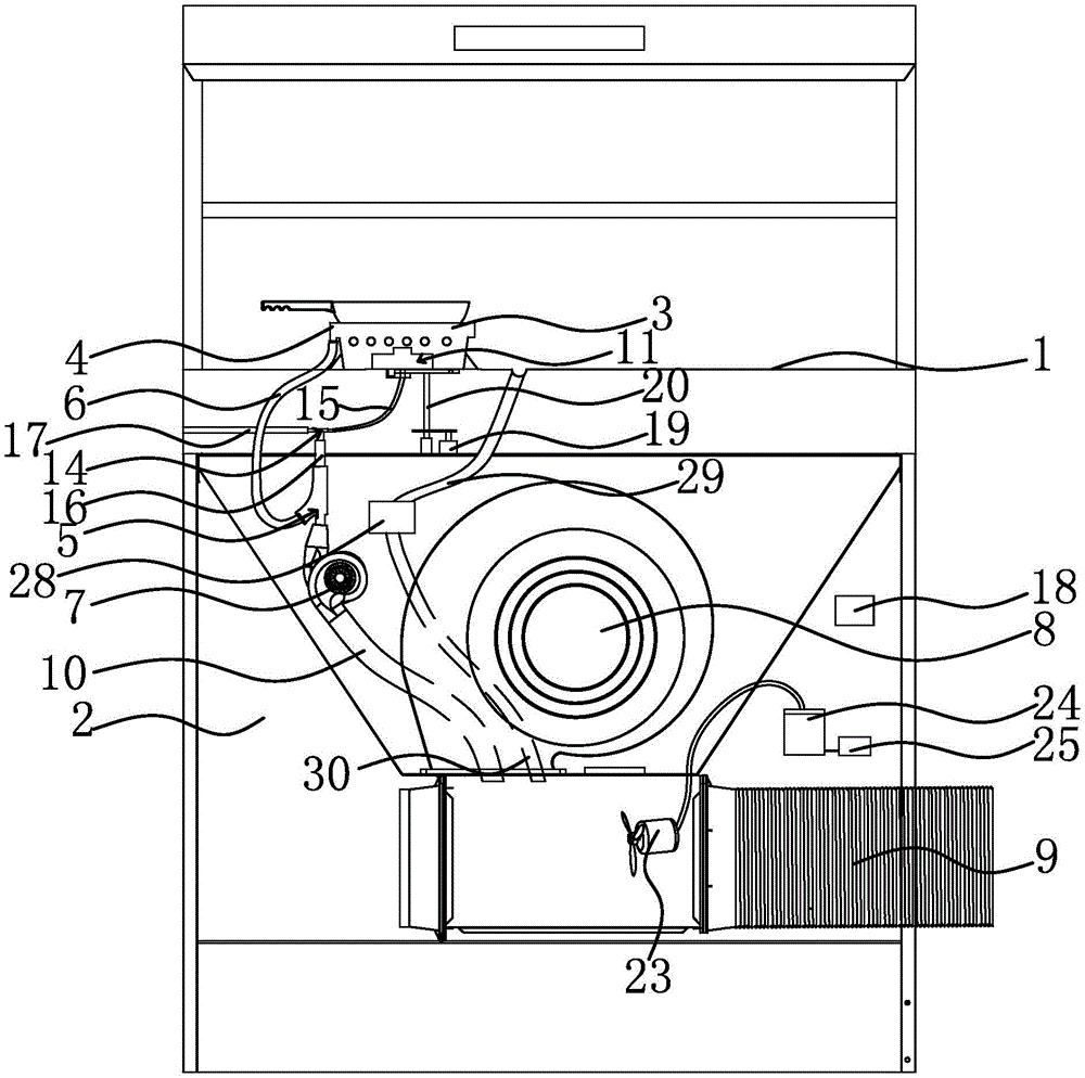
本发明提供了一种改进的节能集成灶,属于集成灶技术领域。它解决了现有技术中燃气燃烧不充分的问题。本改进的节能集成灶,包括灶台和设置在灶台下方的灶体,灶台上固定一锅架,锅架包括呈环状的架体,架体上端一侧设有一能收集未燃烧气体的收集孔,灶体内固定一三叉管一,三叉管一具有入口一、入口二和出口一,收集孔与三叉管一的入口一之间通过一导管一相连接,三叉管一的下方固定一压缩机,三叉管一的入口二与压缩机的出风口相连接;灶体内还固定一风机,风机的输出口连接一排风管,压缩机的进风口与排风管的进口通过一导管二相连通,灶体内还固定一三叉管二,三叉管二具有入口三、入口四和出口二。本发明具有节能的的优点。


