授权公布号:CN218455091U
一种便于调节的弧形腰测量器安装架
有效
申请
2022-09-07
申请公布
1970-01-01
授权
2023-02-07
预估到期
2032-09-07
| 申请号 | CN202222375765.6 |
| 申请日 | 2022-09-07 |
| 授权公布号 | CN218455091U |
| 授权公告日 | 2023-02-07 |
| 分类号 | F16M11/04;F16M11/10;F16M11/28 |
| 分类 | 工程元件或部件;为产生和保持机器或设备的有效运行的一般措施;一般绝热; |
| 申请人名称 | 浙江乔治白服饰股份有限公司 |
| 申请人地址 | 浙江省温州市平阳县平瑞公路588号 |
专利法律状态
2023-02-07
授权
状态信息
授权
摘要
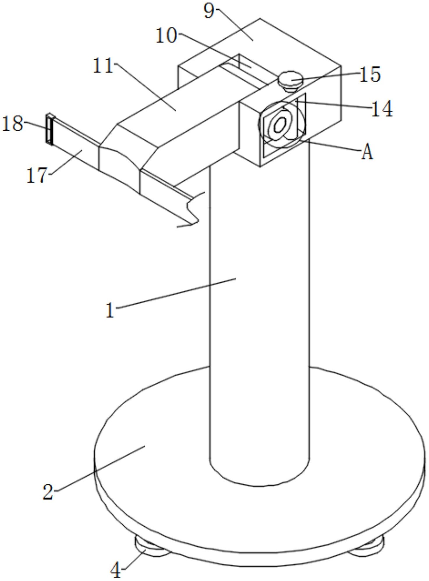
本实用新型提供一种便于调节的弧形腰测量器安装架,涉及安装架技术领域,包括圆杆,所述圆杆的底部固定有平衡板,所述平衡板的底部固定有四个支撑块,所述圆杆的底部中心处开设有第一圆槽,所述圆杆的顶部中心处开设有第二圆槽,所述第一圆槽的内部固定有电动推杆,所述第二圆槽的内部滑动有支撑杆,所述电动推杆的顶部输出端与支撑杆的底部固定连接,所述支撑杆的顶部固定有固定块。本实用新型中,通过安装架内部的电动推杆,可以调节安装架的高度的效果,再通过转动转动盘间接调节连接板的角度的效果,在使用时让设备的运行效果及检测状态都有有效的保障,对工作人员的工作状态及身材都有更有效的贴合效果。


