授权公布号:CN218185404U
一种硬挺不毛边的领子
有效
申请
2022-09-01
申请公布
1970-01-01
授权
2023-01-03
预估到期
2032-09-01
| 申请号 | CN202222320300.0 |
| 申请日 | 2022-09-01 |
| 授权公布号 | CN218185404U |
| 授权公告日 | 2023-01-03 |
| 分类号 | A41D27/18 |
| 分类 | 服装; |
| 申请人名称 | 深圳歌力思服饰股份有限公司 |
| 申请人地址 | 广东省深圳市福田区车公庙天安创新科技广场A栋1901-1905 |
专利法律状态
2023-01-03
授权
状态信息
授权
摘要
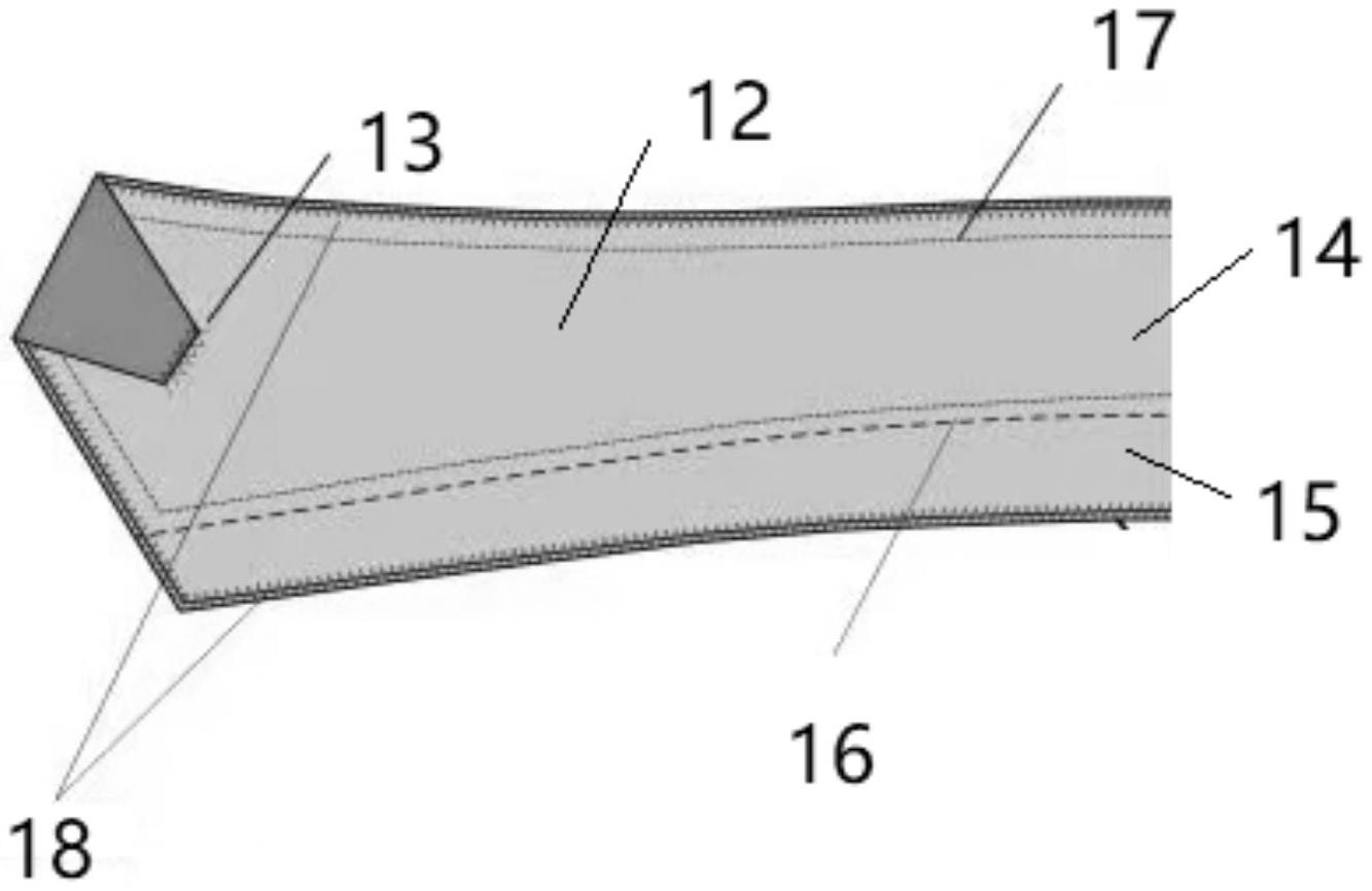
本实用新型提供的一种硬挺不毛边的领子,包括领子面和领子底,所述领子面的边缘设置有向领子底所在侧翻卷的卷边,所述领子底的边缘设置有向领子面所在侧翻卷的卷边,所述领子底具有上领区域和下领区域,所述领子底上领区域的边缘与领子面缝合固定,所述领子底在上领区域与下领区域的交界处设置与领子面通过拱线缝合,所述领子底为领底呢领子底。本实用新型的领子硬挺有张力,不易毛边。


