授权公布号:CN113668150B
一种服装车缝的辅助张紧送料装置及缝纫机
有效
申请
2021-07-20
申请公布
2021-11-19
授权
2022-12-20
预估到期
2041-07-20
| 申请号 | CN202110822087.0 |
| 申请日 | 2021-07-20 |
| 申请公布号 | CN113668150A |
| 申请公布日 | 2021-11-19 |
| 授权公布号 | CN113668150B |
| 授权公告日 | 2022-12-20 |
| 分类号 | D05B35/00 |
| 分类 | 缝纫;绣花;簇绒; |
| 申请人名称 | 广州市格风服饰有限公司 |
| 申请人地址 | 广东省广州市均禾街罗岗村大圳自编1号 |
专利法律状态
2022-12-20
授权
状态信息
授权
2021-11-19
公布
状态信息
公布
摘要
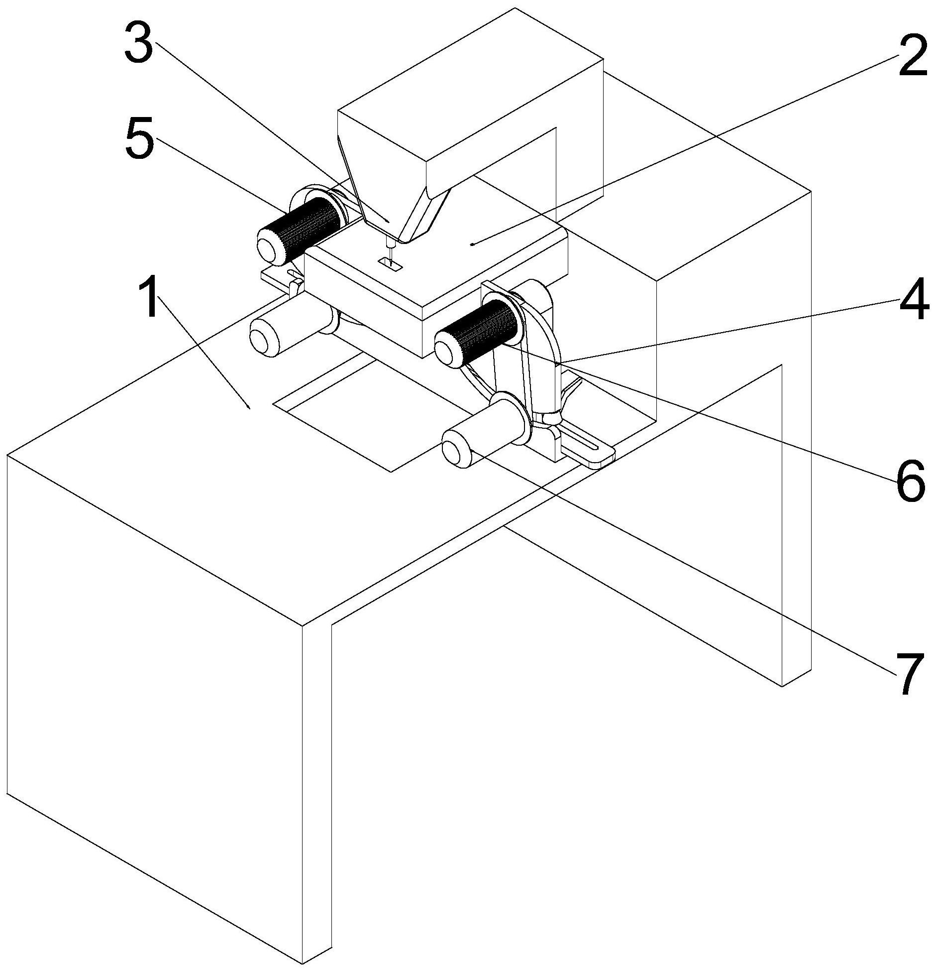
本发明公开了一种服装车缝的辅助张紧送料装置及缝纫机,其中,辅助张紧送料装置包括张紧架以及滚轮组件,滚轮组件设置在所述张紧架上;所述滚轮组件包括滚动轮组件以及张紧轮组件,沿着衣服前进的方向,所述滚动轮组件包括前滚动轮、后滚动轮以及用于驱动前滚动轮跟随后滚动轮转动的传动机构,所述张紧轮组件包括位于工作台下方的张紧轮以及用于调节所述张紧轮沿前后方向移动的调节机构。本发明的辅助张紧送料装置在缝制带有松紧带的裤头时,既能够保证工作台前后部分布料的平整性,而且还能保证布料的前进轨迹更平直。


