授权公布号:CN106087282B
双面呢撬边机
有效
申请
2016-08-29
申请公布
2016-11-09
授权
2022-02-08
预估到期
2036-08-29
| 申请号 | CN201610738530.5 |
| 申请日 | 2016-08-29 |
| 申请公布号 | CN106087282A |
| 申请公布日 | 2016-11-09 |
| 授权公布号 | CN106087282B |
| 授权公告日 | 2022-02-08 |
| 分类号 | D05B35/00 |
| 分类 | 缝纫;绣花;簇绒; |
| 申请人名称 | 锦泓时装集团股份有限公司 |
| 申请人地址 | 江苏省南京市秦淮区中山南路1号60层 |
专利法律状态
2022-02-08
授权
状态信息
授权
2016-11-09
公布
状态信息
公布
摘要
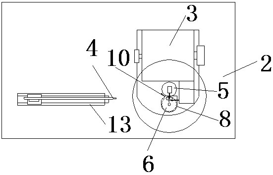
本发明公开了一种双面呢撬边机,包括机架,在机架上方设置有工作台,在工作台上方设置有撬边装置,在撬边装置左侧设置有平行于工作台的压杆,所述压杆沿工作台左右运动,在撬边装置的前侧设置有送料盘和压料盘,在送料盘上方水平设置有插针,在压料盘上安装有安装盘,在压料盘上方右侧设置有机针,所述安装盘左侧与压杆相对应的位置设置有V型开口,压杆伸入安装盘的V型开口中,在安装盘下方设置有挡板。本发明的双面呢撬边机,在撬边装置的进料一侧设置有一个水平的压杆,可以对进料的布匹进行压平导向,使得撬边工序高度一致,并且光滑平整,压杆与安装盘左侧的V型开口配合使用,效果很好,并且导向平稳,不易滑动。


