授权公布号:CN213507692U
一种具有防皱功能的服装加工用烘干装置
有效
申请
2020-09-15
申请公布
1970-01-01
授权
2021-06-22
预估到期
2030-09-15
| 申请号 | CN202022005506.5 |
| 申请日 | 2020-09-15 |
| 授权公布号 | CN213507692U |
| 授权公告日 | 2021-06-22 |
| 分类号 | D06F58/10;D06F58/20;D06F58/26 |
| 分类 | 织物等的处理;洗涤;其他类不包括的柔性材料; |
| 申请人名称 | 云南奥斯迪实业有限公司 |
| 申请人地址 | 云南省昆明市盘龙区联盟路与万宏路交汇处万宏嘉园沣苑(地块三)B座1层BS101号 |
专利法律状态
2021-06-22
授权
状态信息
授权
摘要
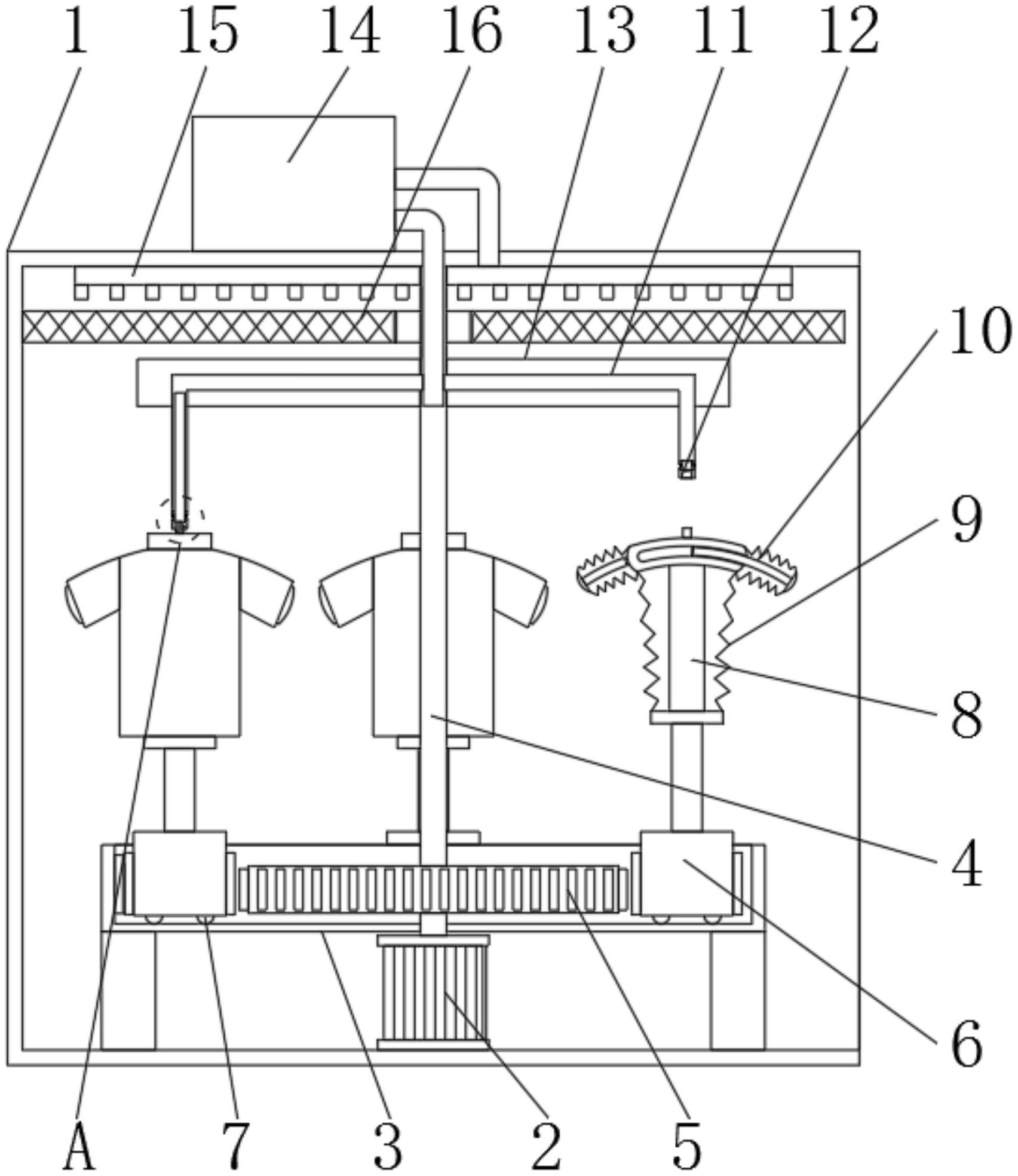
一种具有防皱功能的服装加工用烘干装置,包括箱体和加热丝,所述箱体的内部下表面安装有电动机,且电动机的输出端与传动轴的始端相连接,并且传动轴的末端贯穿支座与太阳轮相连接,所述支座的下端与箱体的内部上表面相连接,且支座的内壁与行星轮的外侧相连接,所述行星轮的下表面安装有滚轮,且行星轮的内侧与太阳轮的外表面相连接,并且行星轮的上端安装有衣架。该具有防皱功能的服装加工用烘干装置,在装置内部通过太阳轮带动行星轮转动的同时,行星轮沿着支座进行自转,通过滚轮提高行星轮旋转的稳定性,通过自转的行星轮带着衣架进行转动,便于衣架对衣物进行离心转动,提高衣物干燥效率。


