授权公布号:CN111513521B
男装展示柜
有效
申请
2020-05-08
申请公布
2020-08-11
授权
2021-05-04
预估到期
2040-05-08
| 申请号 | CN202010383292.7 |
| 申请日 | 2020-05-08 |
| 申请公布号 | CN111513521A |
| 申请公布日 | 2020-08-11 |
| 授权公布号 | CN111513521B |
| 授权公告日 | 2021-05-04 |
| 分类号 | A47F7/19;A47F7/24;A47F5/10 |
| 分类 | 家具;家庭用的物品或设备;咖啡磨;香料磨;一般吸尘器; |
| 申请人名称 | 上海海螺服饰有限公司 |
| 申请人地址 | 上海市嘉定区马陆镇宝安公路2682号 |
专利法律状态
2021-05-04
授权
状态信息
授权
2020-09-04
实质审查的生效
状态信息
实质审查的生效
2020-08-11
公布
状态信息
公布
摘要
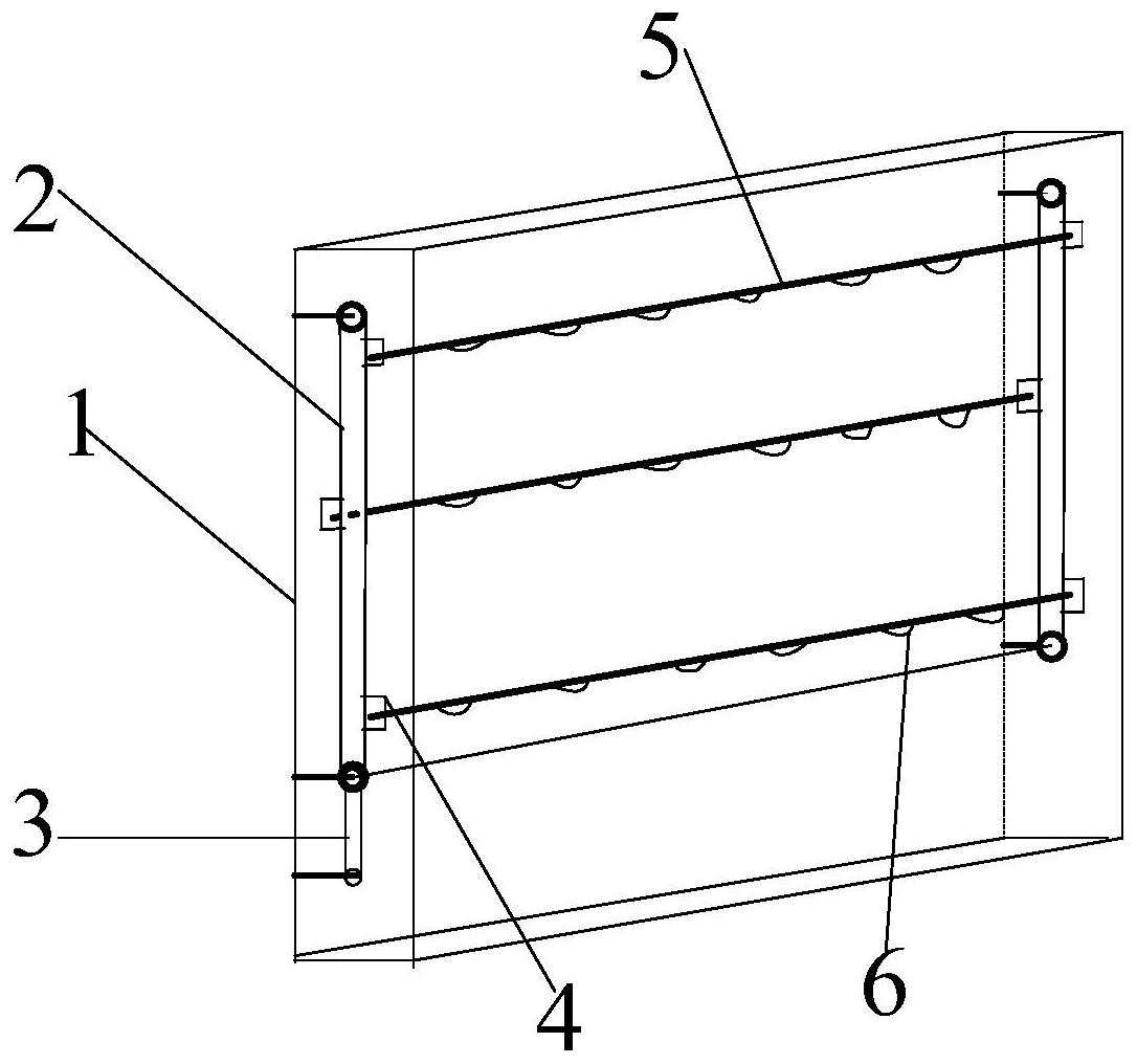
本发明公开了一种男装展示柜,包括:长圆形闭环传动部件,设置有两个,并在动力部件的驱动下转动,在每个长圆形闭环传动部件上均设置有三个固定块,在每个固定块上均设置有一圆柱形凹槽;支撑杆,其设置有三个,每个支撑杆的两端头分别呈圆柱形,与圆柱形凹槽相适配设置,将每个支撑杆分别设置在两个固定块之间,且保证支撑杆的两端头分别插入固定块上的圆柱形凹槽中,在每个支撑杆上均设置有多个用以挂衣架的圆环,且圆环以可移动的方式设置,设置方式为:在支撑杆上设置有长条形T型凹槽,在圆环上设置有呈T型的卡部,卡部正好卡合在T型凹槽中。本发明既能够方便地调整支撑挂衣架的支撑杆的高度,又能够展示更多的衣服。


