授权公布号:CN212394003U
一种带隐藏式松紧线的领带
有效
申请
2020-07-20
申请公布
1970-01-01
授权
2021-01-26
预估到期
2030-07-20
| 申请号 | CN202021436500.7 |
| 申请日 | 2020-07-20 |
| 授权公布号 | CN212394003U |
| 授权公告日 | 2021-01-26 |
| 分类号 | A41D25/00 |
| 分类 | 服装; |
| 申请人名称 | 金利来(中国)有限公司 |
| 申请人地址 | 广东省梅州市江南八号工业区 |
专利法律状态
2021-01-26
授权
状态信息
授权
摘要
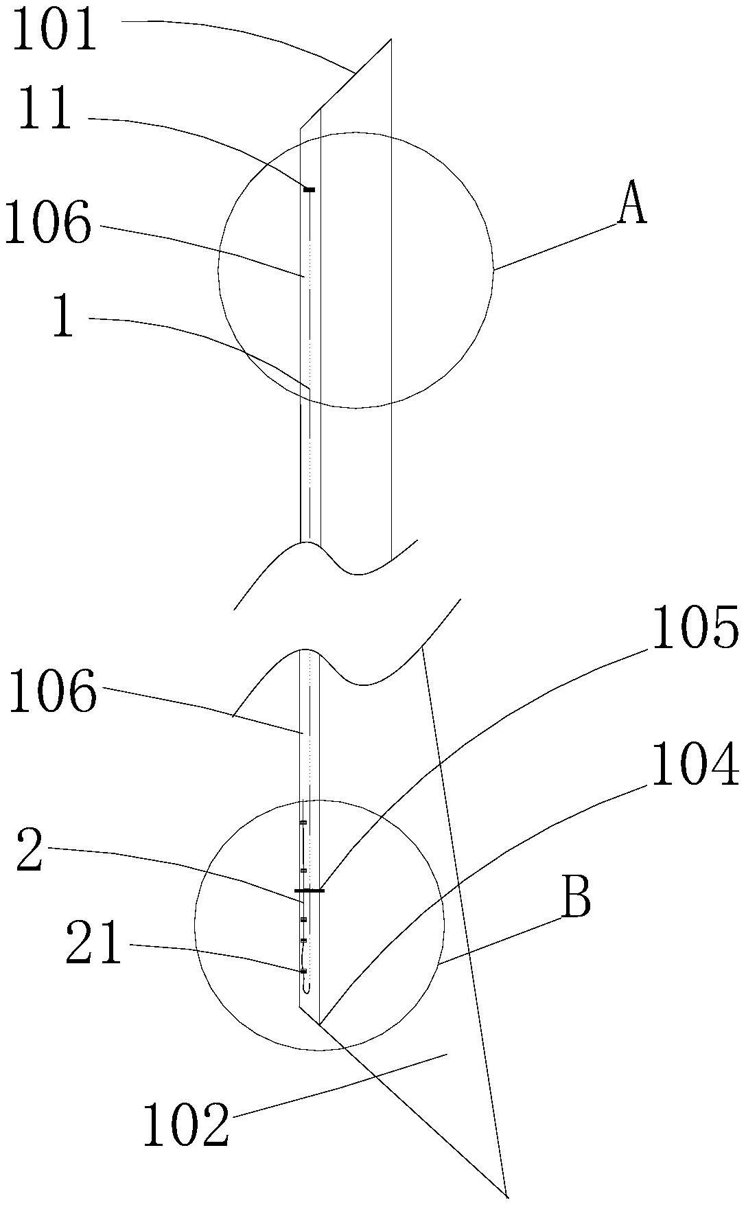
本实用新型涉及领带技术领域,特别是一种带隐藏式松紧线的领带。该领带包括领带本体,所述领带本体内侧包括拼接部,所述拼接部设有车缝线、松紧线和若干限位线圈;所述车缝线的一端固定在所述拼接部靠近所述呔尾的一端,以车缝的方式沿所述拼接部向所述呔头方向延伸,延伸至所述锁线和所述开叉处之间;所述松紧线的一端与所述车缝线远离所述呔尾的一端连接,所述松紧线的另一端向所述呔尾方向延伸,形成自由端;所述限位线圈与所述拼接部固定连接,所述松紧线的自由端穿过所述限位线圈。通过在领带内侧,将车缝线的尾端留一段作为松紧线,并通过限位线圈将松紧线固定。避免了车缝线断线和松紧线的外露,从而避免了领带的非预期形变。


