授权公布号:CN216702160U
一种服装设计用陈列架
有效
申请
2021-11-04
申请公布
1970-01-01
授权
2022-06-10
预估到期
2031-11-04
| 申请号 | CN202122681021.2 |
| 申请日 | 2021-11-04 |
| 授权公布号 | CN216702160U |
| 授权公告日 | 2022-06-10 |
| 分类号 | A47F7/24;A47F7/26;A47F7/08;A47F7/00;A47F5/02;A47F11/10 |
| 分类 | 家具;家庭用的物品或设备;咖啡磨;香料磨;一般吸尘器; |
| 申请人名称 | 青州市坦博尔服饰股份有限公司 |
| 申请人地址 | 山东省潍坊市青州市昭德南路3588号 |
专利法律状态
2022-06-10
授权
状态信息
授权
摘要
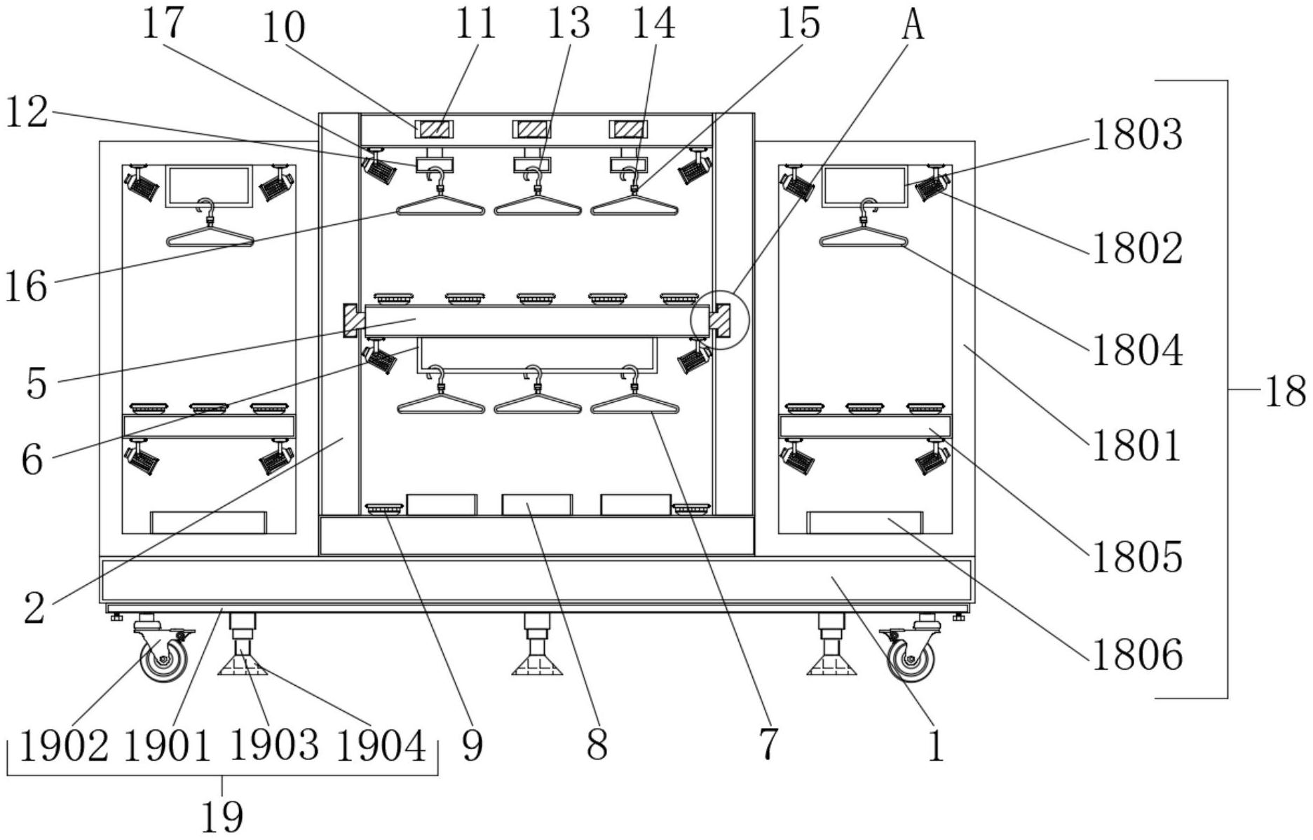
本实用新型公开了一种服装设计用陈列架,包括底座、照明机构、附加展示机构和移动支撑机构,所述底座的顶端设置有主陈列架,且主陈列架的内壁开设有卡槽,所述卡槽的内壁安装有卡块,且卡块的外壁设置有分隔板,所述分隔板的底端焊接有挂架,且挂架的底端设置有裤子展示架,所述主陈列架的底端设置有男士鞋靴展示台,所述附加展示机构安装在主陈列架的外壁两端,所述移动支撑机构螺钉连接在底座的底端。该服装设计用陈列架,通过设置的滑块与转轴,这样在主陈列架中的服装过多时,不便于将服装的正面进行展示,可以通过滑块将整体衣服展示架抽出,通过转轴旋转带动衣服展示架上的服装进行旋转,以将服装的正面进行展示。


