授权公布号:CN220587525U
一种运动文胸
有效
申请
2023-07-07
申请公布
1970-01-01
授权
2024-03-15
预估到期
2033-07-07
| 申请号 | CN202321785617.X |
| 申请日 | 2023-07-07 |
| 授权公布号 | CN220587525U |
| 授权公告日 | 2024-03-15 |
| 分类号 | A41C3/00;A41C3/12 |
| 分类 | 服装; |
| 申请人名称 | 李宁(中国)体育用品有限公司 |
| 申请人地址 | 北京市通州区中关村科技园区通州园光机电一体化产业基地兴光五街8号 |
专利法律状态
2024-03-15
授权
状态信息
授权
摘要
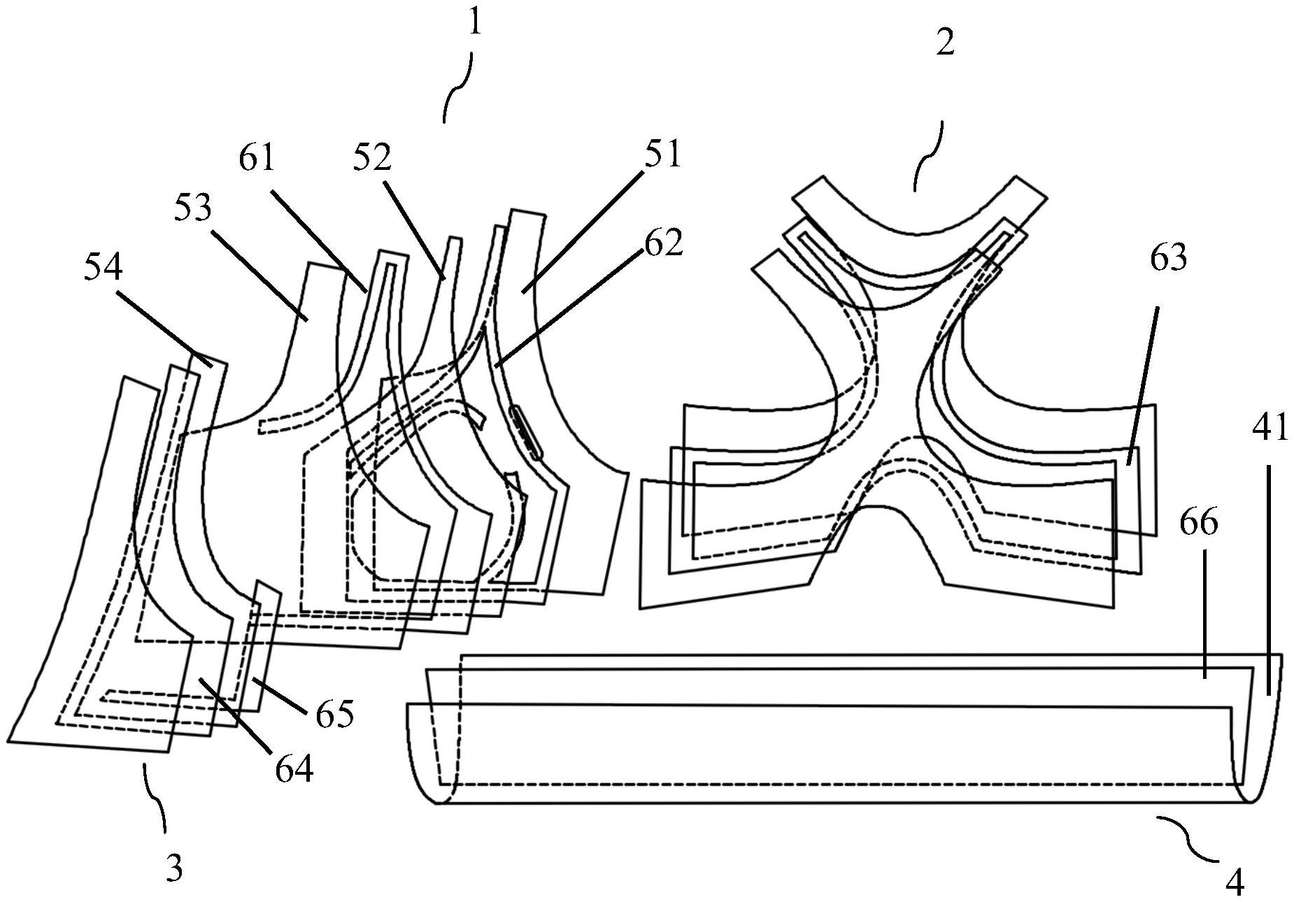
本实用新型的运动文胸包括运动文胸的大身,大身外侧贴合设有侧托片,侧托片对应大身上的罩杯边缘区域设置,侧托片的侧边与大身的侧边位置固定连接,侧托片包括有第三肩带部,第三肩带部与大身的肩点位置固定连接,侧托片的下围与大身的外侧下围位置固定连接,使得侧托片能够实现对副乳的上拉下提作用。侧托片在对应副乳的上部位置设有弧形结构,该弧形结构的弯曲弧度小于前片在该处的弯曲弧度,在穿着时,侧托片对副乳具有更大的遮挡面积;前片的第二面料上形成有凸起形状,第二面料与第一面料形成的夹层空间,胸垫与胸部之间保持一定的间隙,以此对胸部在运动过程中受到的冲击进行缓冲减震;底围采用胶膜粘合的工艺,增加整个下围强度。


