授权公布号:CN205947599U
一种可折叠式晒衣篮
有效
申请
2016-05-19
申请公布
1970-01-01
授权
2017-02-15
预估到期
2026-05-19
| 申请号 | CN201620456593.7 |
| 申请日 | 2016-05-19 |
| 授权公布号 | CN205947599U |
| 授权公告日 | 2017-02-15 |
| 分类号 | A47G25/40 |
| 分类 | 家具;家庭用的物品或设备;咖啡磨;香料磨;一般吸尘器; |
| 申请人名称 | 广东洪兴实业股份有限公司 |
| 申请人地址 | 广东省汕头市潮南区峡山洋内居委村道东(洪兴工业区) |
专利法律状态
2019-03-12
专利权人的姓名或者名称、地址的变更
状态信息
专利权人的姓名或者名称、地址的变更;IPC(主分类):A47G 25/40;专利号:ZL2016204565937;变更事项:专利权人;变更前:广东洪兴实业有限公司;变更后:广东洪兴实业股份有限公司;变更事项:地址;变更前:515000 广东省汕头市潮南区峡山洋内;变更后:515000 广东省汕头市潮南区峡山洋内居委村道东(洪兴工业区)
2017-02-15
实用新型专利权授予
状态信息
授权
摘要
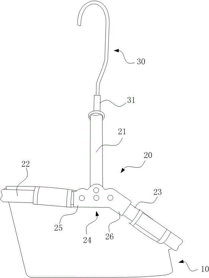
本实用新型实施例公开了一种可折叠式晒衣篮,包括由布料构成的篮体、吊架、挂钩,所述吊架包括一提梁、第一摆臂、第二摆臂,所述提梁下端设置有摆架,所述摆架第一端水平设置,第二端与水平面呈30‑45度夹角,所述第一摆臂、第二摆臂分别与所述第一端、第二端转动连接,所述篮体上边与所述第一摆臂、第二摆臂固定缝合,所述挂钩设置于所述提梁上。采用本实用新型,通过合理的结构,使篮内的衣物达到最佳的晾晒效果,并通过可折叠式的摆臂,节省了储存占用空间。


