授权公布号:CN217242857U
一种粘衬机
有效
申请
2022-04-02
申请公布
1970-01-01
授权
2022-08-23
预估到期
2032-04-02
| 申请号 | CN202220771647.4 |
| 申请日 | 2022-04-02 |
| 授权公布号 | CN217242857U |
| 授权公告日 | 2022-08-23 |
| 分类号 | A41H43/04;B65H29/16;B65H37/04 |
| 分类 | 服装; |
| 申请人名称 | 北京木真了时装有限公司 |
| 申请人地址 | 北京市通州区宋庄镇小堡北三街1号 |
专利法律状态
2022-08-23
授权
状态信息
授权
摘要
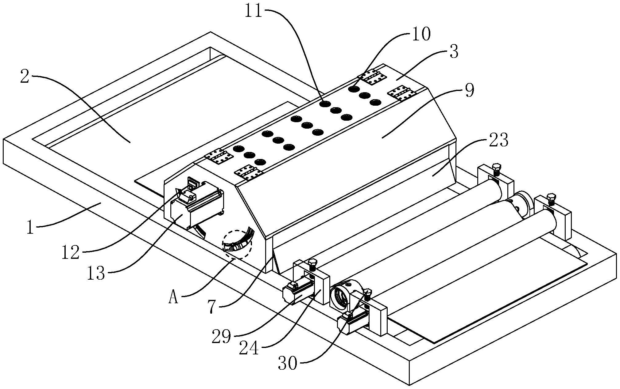
本申请涉及服装加工领域,尤其是涉及一种粘衬机,其包括送料平台和加工机组,所述送料平台上连接有传送带,所述加工机组连接在所述送料平台上,所述加工机组用于对布料和衬纸进行粘接,还包括散热辊,所述散热辊位于所述加工机组靠近所述传送带的出料方向设置,所述散热辊中空设置且两端设置为开口,所述散热辊上设置有若干个散热孔,所述散热辊的端部连接有散热风扇,所述散热风扇的出风口远离所述散热辊内部设置,本申请具有便于收卷整理布料和衬纸的效果。


