授权公布号:CN217517234U
一种用于布料裁切加工的工作台
有效
申请
2022-04-02
申请公布
1970-01-01
授权
2022-09-30
预估到期
2032-04-02
| 申请号 | CN202220771621.X |
| 申请日 | 2022-04-02 |
| 授权公布号 | CN217517234U |
| 授权公告日 | 2022-09-30 |
| 分类号 | D06H7/02 |
| 分类 | 织物等的处理;洗涤;其他类不包括的柔性材料; |
| 申请人名称 | 北京木真了时装有限公司 |
| 申请人地址 | 北京市通州区宋庄镇小堡北三街1号 |
专利法律状态
2022-09-30
授权
状态信息
授权
2022-04-02
公布
状态信息
公布
摘要
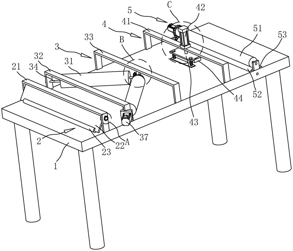
本申请公开了一种用于布料裁切加工的工作台,其包括工作台本体,工作台本体上设置有抚平组件、冲裁组件以及进料组件,抚平组件包括设置于工作台本体上方的抚平板,抚平板的底端朝向布料的进料方向倾斜设置,抚平板的底边与工作台本体贴合设置,冲裁组件包括设置于工作台本体上的刀模以及驱动刀模沿竖直方向移动的第一驱动件,进料组件包括转动设置于工作台本体上的第一进料辊与第二进料辊,第一进料辊与第二进料辊贴合设置,工作台本体上设置有驱动第一进料辊与第二进料辊沿相反方向转动的第二驱动件。本申请具有提高布料冲裁的效率与质量的效果。


