授权公布号:CN211855232U
一种基于激光反射的裁床刀片弯曲检测装置
有效
申请
2020-04-09
申请公布
1970-01-01
授权
2020-11-03
预估到期
2030-04-09
| 申请号 | CN202020509262.1 |
| 申请日 | 2020-04-09 |
| 授权公布号 | CN211855232U |
| 授权公告日 | 2020-11-03 |
| 分类号 | G01B11/16 |
| 分类 | 测量;测试; |
| 申请人名称 | 浙江博尼时尚控股集团有限公司 |
| 申请人地址 | 浙江省金华市义乌市苏溪镇好派路168号 |
专利法律状态
2020-11-03
授权
状态信息
授权
摘要
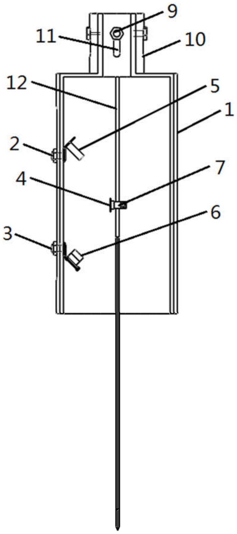
本实用新型公开了一种基于激光反射的裁床刀片弯曲检测装置,包括具有上下两部分的外壳,上部分与裁床刀具夹固定,下部分为镂空的圆柱体,该圆柱体为第一圆柱体,第一圆柱体的上下底面为开口结构,第一圆柱体的侧面设有沿圆柱体高度方向延伸的导轨;安装在导轨中的两个支撑架,两个支撑架沿圆柱体高度方向上下分布,位于上方的支撑架为第一支撑架,位于下方的支撑架为第二支撑架;安装在第一支撑架上的激光发射器;安装在第二支撑架上的线性CCD传感器;固定在裁床刀片上的平面镜,平面镜的镜面与裁床刀片的刀面、导轨平行,在高度方向上平面镜位于激光发射器和线性CCD传感器之间。本实用新型装置结构简单,刀片弯曲程度检测的可靠性高。


