授权公布号:CN216484388U
一种粗纱强度检测装置
有效
申请
2021-12-24
申请公布
1970-01-01
授权
2022-05-10
预估到期
2031-12-24
| 申请号 | CN202123277179.X |
| 申请日 | 2021-12-24 |
| 授权公布号 | CN216484388U |
| 授权公告日 | 2022-05-10 |
| 分类号 | G01N3/12;G01N3/06 |
| 分类 | 测量;测试; |
| 申请人名称 | 邓州雪阳集团股份有限公司 |
| 申请人地址 | 河南省南阳市邓州市三贤南路东侧 |
专利法律状态
2022-05-10
授权
状态信息
授权
摘要
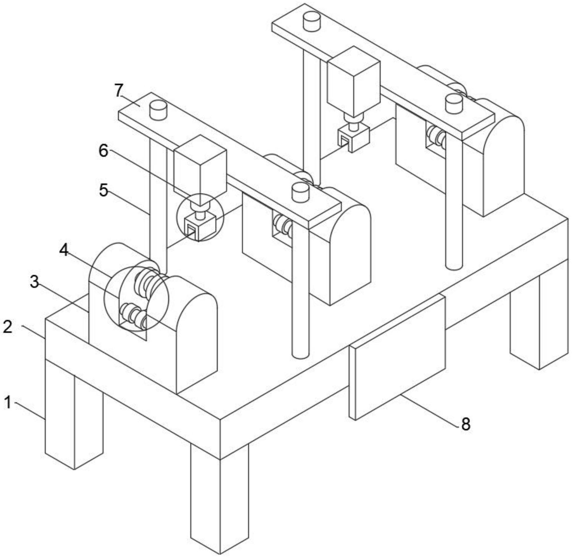
本实用新型公开了一种粗纱强度检测装置,包括底板,还包括检测机构、限位板、限位架和固定杆,所述底板顶部固定连接有均匀排列的限位架,所述底板顶部通过固定杆连接有限位板,所述限位板侧面安装有检测机构,所述检测机构具体由压力传感器、检测块、传动杆和液压泵组成,所述限位板侧面固定连接有液压泵,所述液压泵底部通过传动杆连接有检测块,所述检测块内壁安装有压力传感器。通过在底板顶部安装限位架连接支撑杆和辊架,对粗纱进行支撑,方便对粗纱强度检测的进行,通过在底板顶部安装支撑杆连接限位板、与液压泵、传动杆、检测块以及压力传感器和显示器配合使用,对粗纱进行强度检测。


