授权公布号:CN220394122U
一种羊毛衫高效熨烫设备
有效
申请
2023-06-16
申请公布
1970-01-01
授权
2024-01-26
预估到期
2033-06-16
| 申请号 | CN202321544942.7 |
| 申请日 | 2023-06-16 |
| 授权公布号 | CN220394122U |
| 授权公告日 | 2024-01-26 |
| 分类号 | D06F71/32;D06F71/18 |
| 分类 | 织物等的处理;洗涤;其他类不包括的柔性材料; |
| 申请人名称 | 兔皇羊绒有限公司 |
| 申请人地址 | 浙江省嘉兴市桐乡市梧桐街道复兴南路98号3幢 |
专利法律状态
2024-01-26
授权
状态信息
授权
摘要
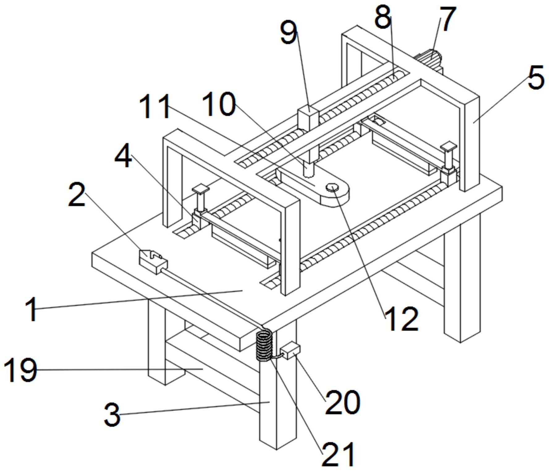
本实用新型涉及熨烫设备技术领域,具体为一种羊毛衫高效熨烫设备,包括:桌体,其为桌体部分,转动螺纹杆,其均设置在所述桌体的内部;第一螺纹座,其均螺纹连接在所述转动螺纹杆的表面;滑杆,其均固定连接在所述第一螺纹座的表面上端,让喷洒更为均匀,防止在熨烫时可能会出现色差或区域染色等问题,甚至烫斗损伤喷洒水分较少的部位,增加了摊平后的固定机构,防止熨烫过程中多次调整羊毛衫和摊平不完全导致纹路不整齐甚至毛衣变形。


