授权公布号:CN216338388U
一种羊绒衫用自动喷液缩绒机
有效
申请
2021-10-29
申请公布
1970-01-01
授权
2022-04-19
预估到期
2031-10-29
| 申请号 | CN202122619072.2 |
| 申请日 | 2021-10-29 |
| 授权公布号 | CN216338388U |
| 授权公告日 | 2022-04-19 |
| 分类号 | D06B1/02;D06B23/20;D06C17/00 |
| 分类 | 织物等的处理;洗涤;其他类不包括的柔性材料; |
| 申请人名称 | 兔皇羊绒有限公司 |
| 申请人地址 | 浙江省嘉兴市桐乡市梧桐街道复兴南路98号3幢 |
专利法律状态
2022-04-19
授权
状态信息
授权
摘要
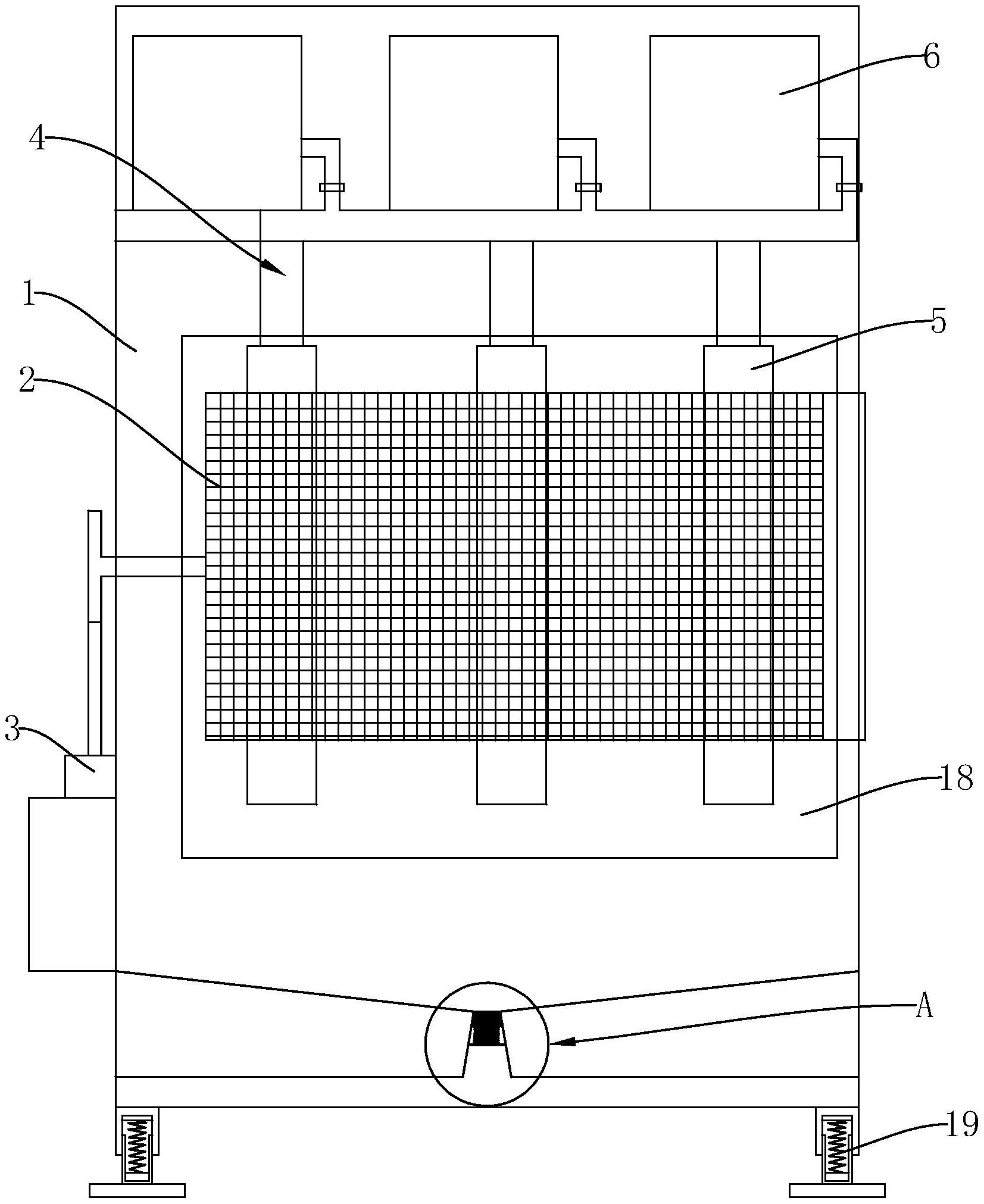
本实用新型提供一种羊绒衫用自动喷液缩绒机,属于纺织设备技术领域,包括:机架;辊筒,与所述机架转动连接,侧面呈网状结构;驱动装置,设置在所述机架上,用于带动所述辊筒转动;喷淋装置,用于喷洒缩绒药剂;所述机架内底面设置有废液收集装置,用于收集缩绒机内部的多余的药剂。本实用新型结构简单,操作方便,采用雾化喷洒,使药剂与羊绒衫的接触面更广,能有效地减少药剂的浪费,同时通过废液收集装置能够回收利用多余的药剂,进一步降低药剂的浪费。


