授权公布号:CN210341353U
一种羊绒纤维漂白装置
有效
申请
2019-04-04
申请公布
1970-01-01
授权
2020-04-17
预估到期
2029-04-04
| 申请号 | CN201920452790.5 |
| 申请日 | 2019-04-04 |
| 授权公布号 | CN210341353U |
| 授权公告日 | 2020-04-17 |
| 分类号 | D06B13/00;D06B15/02;D06B23/04 |
| 分类 | 织物等的处理;洗涤;其他类不包括的柔性材料; |
| 申请人名称 | 湖州珍贝羊绒制品有限公司 |
| 申请人地址 | 浙江省湖州市吴兴区织里镇318国道织里段888号 |
专利法律状态
2020-04-17
授权
状态信息
授权
摘要
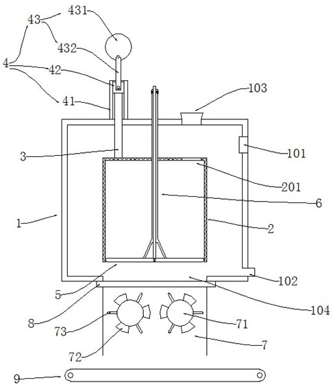
本实用新型涉及纺织加工技术领域,尤其涉及一种羊绒纤维漂白装置,包括开设有进液口和出液口的箱体,所述箱体内设有漂洗笼,所述漂洗笼通过升降轴连接设于箱体外的升降装置,所述漂洗笼的侧壁和顶壁均为网格状,所述漂洗笼的顶壁上还设有进料口,所述箱体的顶壁相对所述进料口的位置开设有纤维入口,所述漂洗笼的底部为相互铰接的两块卸料板,所述卸料板上设有控制卸料板打开和闭合的卸料组件,所述箱体的下方通过设置在箱体底部的纤维出口连通有脱水结构,所述纤维出口和所述脱水结构之间设有截流板。本实用新型采用柔性的漂白形式,漂白效果好,同时自动化程度高,出料方便。


