授权公布号:CN218491976U
一种无染色羊绒纱线的后整理设备
有效
申请
2022-10-25
申请公布
1970-01-01
授权
2023-02-17
预估到期
2032-10-25
| 申请号 | CN202222812523.9 |
| 申请日 | 2022-10-25 |
| 授权公布号 | CN218491976U |
| 授权公告日 | 2023-02-17 |
| 分类号 | D06B3/04;D06B23/02;D06B23/04 |
| 分类 | 织物等的处理;洗涤;其他类不包括的柔性材料; |
| 申请人名称 | 湖州珍贝羊绒制品有限公司 |
| 申请人地址 | 浙江省湖州市吴兴区织里镇318国道织里段888号 |
专利法律状态
2023-02-17
授权
状态信息
授权
摘要
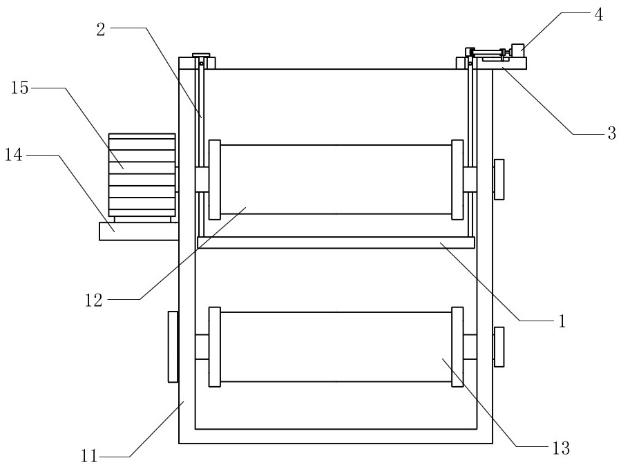
一种无染色羊绒纱线的后整理设备,包括箱体、设置在箱体内且竖直分布的上转动辊和下转动辊、位于所述上转动辊和下转动辊之间以用于张紧羊绒纱线的调节组件,调节组件包括对称设置的两个张紧辊、设置在张紧辊两端上并延伸至箱体上端的两个连接杆、设置在箱体上端两侧并用于插入连接杆的两个限位板、以及设置在一个限位板上并作用于连接杆以推动连接杆带动张紧辊向远离上转动辊的方向平移的驱动组件。本装置通过设置张紧辊,并且在箱体上设置调节组件的方式,达到了调节羊绒纱线张紧度的目的,并且调节张紧度的结构独立于上转动辊和下转动辊,不会影响上转动辊和下转动辊的稳定性,不会影响箱体的密封性,并且具有灵活性强、操作简单的优点。


