授权公布号:CN209481938U
全自动电脑横机传动机构
有效
申请
2018-12-27
申请公布
1970-01-01
授权
2019-10-11
预估到期
2028-12-27
| 申请号 | CN201822213409.8 |
| 申请日 | 2018-12-27 |
| 授权公布号 | CN209481938U |
| 授权公告日 | 2019-10-11 |
| 分类号 | D04B15/96 |
| 分类 | 编织;花边制作;针织;饰带;非织造布; |
| 申请人名称 | 浙江米皇服饰股份有限公司 |
| 申请人地址 | 浙江省湖州市吴兴区织里镇康泰西路288号 |
专利法律状态
2019-11-22
专利权人的姓名或者名称、地址的变更
状态信息
专利权人的姓名或者名称、地址的变更IPC(主分类):D04B 15/96变更前 专利权人:浙江米皇羊绒股份有限公司 地址:313000 浙江省湖州市吴兴区织里镇康泰西路288号变更后 专利权人:浙江米皇服饰股份有限公司 地址:313000 浙江省湖州市织里镇康泰西路288号
2019-10-11
授权
状态信息
授权
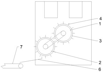
摘要
本实用新型提供全自动电脑横机传动机构,它包括有机架以及安装在机架上的机组,机组出口下方的机架上安装有输出承托辊,输出承托辊外下方的机架上安装有导向承托辊,导向承托辊、输出承托辊端部通过同步链连接同步运转,输出承托辊、导向承托辊表面均包覆有橡胶套,橡胶套表面设有凸起的牵引锥,导向承托辊下方倾斜安装有导向板,导向板较低一端下方安装有输出输送带。采用本方案后的产品传动效果好、可以形成有效的牵引和传动,其结构合理、使用效果好。


