授权公布号:CN217442668U
一种密封防水电子秤
有效
申请
2021-10-29
申请公布
1970-01-01
授权
2022-09-16
预估到期
2031-10-29
| 申请号 | CN202122641578.3 |
| 申请日 | 2021-10-29 |
| 授权公布号 | CN217442668U |
| 授权公告日 | 2022-09-16 |
| 分类号 | G01G19/414;G01G21/02;G01G21/28 |
| 分类 | 测量;测试; |
| 申请人名称 | 中山市金利电子衡器有限公司 |
| 申请人地址 | 广东省中山市小榄镇民安南路283号 |
专利法律状态
2022-09-16
授权
状态信息
授权
摘要
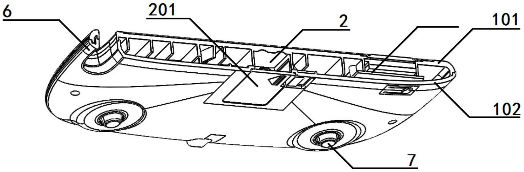
本实用新型公开了一种密封防水电子秤,包括主壳体,所述主壳体包括上壳体和下壳体,所述下壳体底部设有电池盒,所述电池盒在下壳体底面设有电池盖板,所述电池盖板可拆卸设置在所述下壳体底面;所述电池盖板在与所述下壳体抵接位置设有柔性密封条,当电池盖板安装在下壳体的情况下,所述柔性密封条形变封堵下壳体与电池盖板之间的缝隙。


