授权公布号:CN213688629U
一种具有防护功能的便携体重秤
有效
申请
2020-12-03
申请公布
1970-01-01
授权
2021-07-13
预估到期
2030-12-03
| 申请号 | CN202022900858.7 |
| 申请日 | 2020-12-03 |
| 授权公布号 | CN213688629U |
| 授权公告日 | 2021-07-13 |
| 分类号 | G01G19/44 |
| 分类 | 测量;测试; |
| 申请人名称 | 中山市金利电子衡器有限公司 |
| 申请人地址 | 广东省中山市小榄镇民安南路283号 |
专利法律状态
2021-07-13
授权
状态信息
授权
摘要
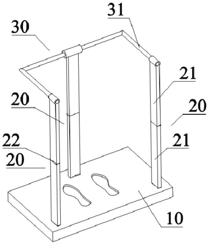
本实用新型所述的具有防护功能的便携体重秤,包括秤座、支撑结构、及扶持结构,所述支撑结构包括若干可折叠单元,该可折叠单元的顶部与扶持结构转动连接,并且底部与秤座活动连接,所述可折叠单元包括至少两个转动连接的折叠件、及活动设于折叠件间连接处的保持结构。本实用新型在折叠时,可保持结构活动使折叠件可折叠,折叠件的顶部相对于扶持结构沿水平方向转动,且底部相对于秤座活动,形成折叠状态。便携性上,本实用新型可折叠收纳,相比于传统的秤座仅多出了一层折叠件,并无太多的空间占用。安全性上,本实用新型通过保持结构加强了折叠单元的支撑强度,通过扶持结构给使用者更安全可靠的辅助结构,使用起来比较安全。


