授权公布号:CN213835819U
一种腰里加工用拉筒
有效
申请
2020-09-22
申请公布
1970-01-01
授权
2021-07-30
预估到期
2030-09-22
| 申请号 | CN202022109023.X |
| 申请日 | 2020-09-22 |
| 授权公布号 | CN213835819U |
| 授权公告日 | 2021-07-30 |
| 分类号 | D05B35/02 |
| 分类 | 缝纫;绣花;簇绒; |
| 申请人名称 | 山东耶莉娅服装集团有限公司 |
| 申请人地址 | 山东省潍坊市潍城区卧龙西街591号 |
专利法律状态
2021-07-30
授权
状态信息
授权
摘要
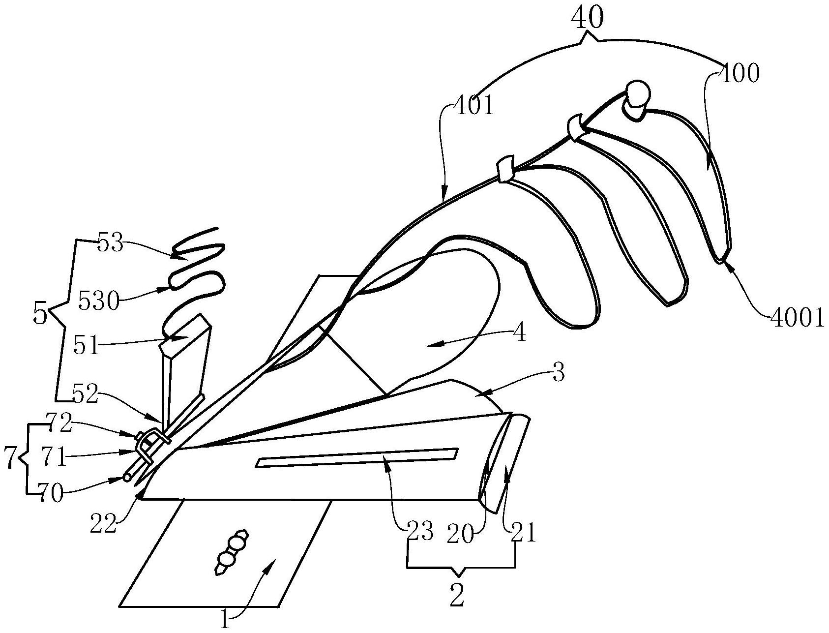
本实用新型涉及服装生产设备技术领域,尤其涉及一种腰里加工用拉筒,包括底座,底座上倾斜设有第一入料部件,第一入料部件的一侧设有第二入料部件,第二入料部件的上方倾斜设有第三入料部件,第三入料部件的上方倾斜设有第四入料部件。利用该拉筒可以同时将加工腰里的多块布料一次缝合在一起,操作方便,大大提高了工作效率。


