授权公布号:CN219032547U
一种棉绒衣料缝制用的压脚装置
有效
申请
2022-08-29
申请公布
1970-01-01
授权
2023-05-16
预估到期
2032-08-29
| 申请号 | CN202222281972.5 |
| 申请日 | 2022-08-29 |
| 授权公布号 | CN219032547U |
| 授权公告日 | 2023-05-16 |
| 分类号 | D05B29/06;D05B29/12 |
| 分类 | 缝纫;绣花;簇绒; |
| 申请人名称 | 山东耶莉娅服装集团有限公司 |
| 申请人地址 | 山东省潍坊市潍城区卧龙西街591号 |
专利法律状态
2023-05-16
授权
状态信息
授权
摘要
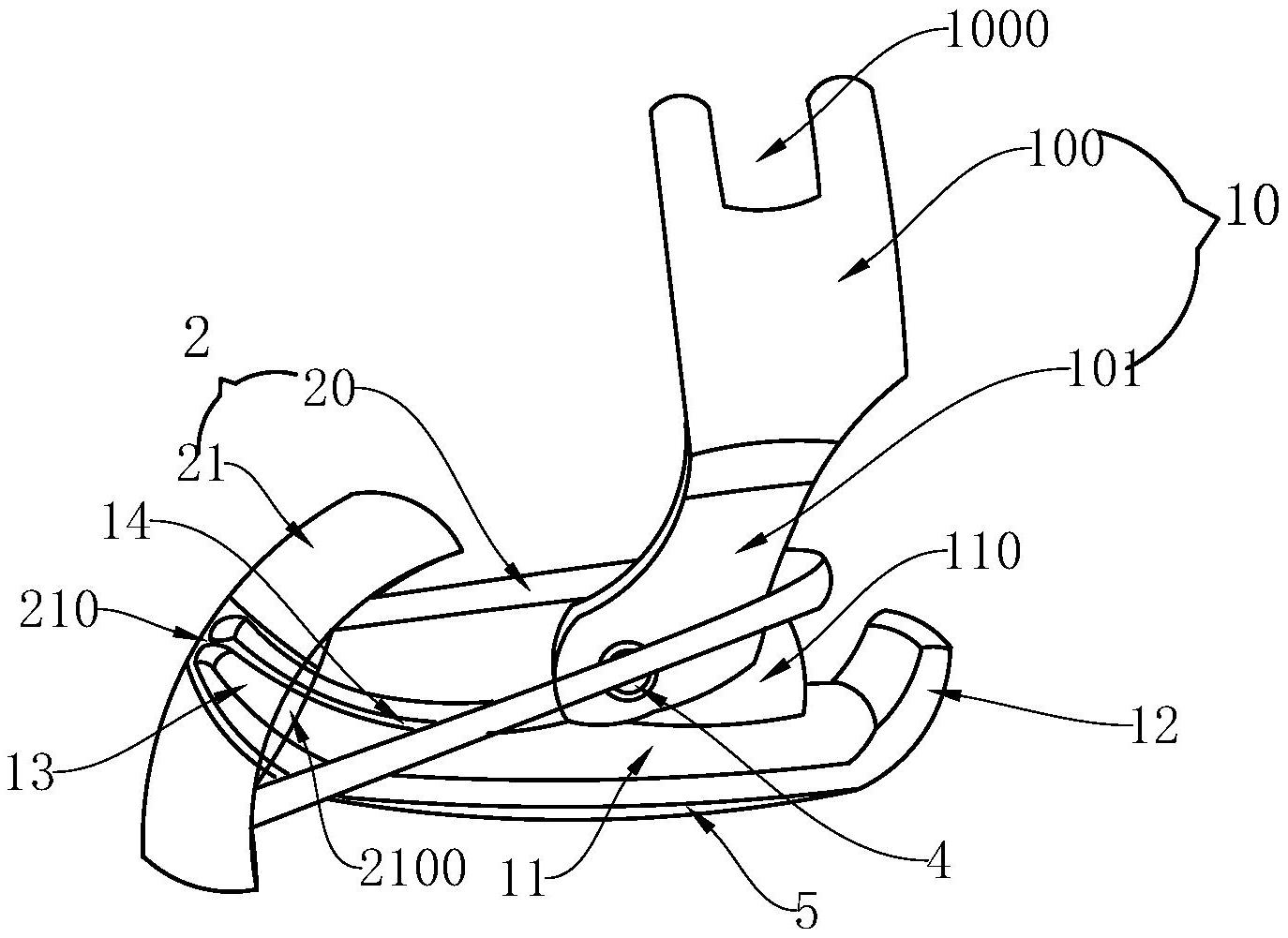
本实用新型涉及服装生产设备技术领域,尤其涉及一种棉绒衣料缝制用的压脚装置,包括压脚和与压脚配合使用的防刮部件,压脚包括连接柄,连接柄的下方设有与连接柄相连接的压板,压板的一端设有第一翘起部,压板的另一端设有一对长度相同的第二翘起部,压板靠近第二翘起部的一侧设有供辑线针活动的长方形辑针通道;防刮部件包括固定件以及与固定件相连接的防刮件,防刮件的中间设有与第二翘起部相互适配的收纳区。采用上述压脚装置有效解决了缝制棉绒衣料所出现棉绒衣料被压脚刮起来的问题,大大提高了工作效率和缝制质量。


