授权公布号:CN218303958U
一种防潮置衣柜
有效
申请
2022-08-22
申请公布
1970-01-01
授权
2023-01-17
预估到期
2032-08-22
| 申请号 | CN202222209704.2 |
| 申请日 | 2022-08-22 |
| 授权公布号 | CN218303958U |
| 授权公告日 | 2023-01-17 |
| 分类号 | A47B61/00;A47B97/00;B01D53/26 |
| 分类 | 家具;家庭用的物品或设备;咖啡磨;香料磨;一般吸尘器; |
| 申请人名称 | 湖南东方时装有限公司 |
| 申请人地址 | 湖南省长沙市宁乡市金洲新区金洲大道西016号 |
专利法律状态
2023-01-17
授权
状态信息
授权
摘要
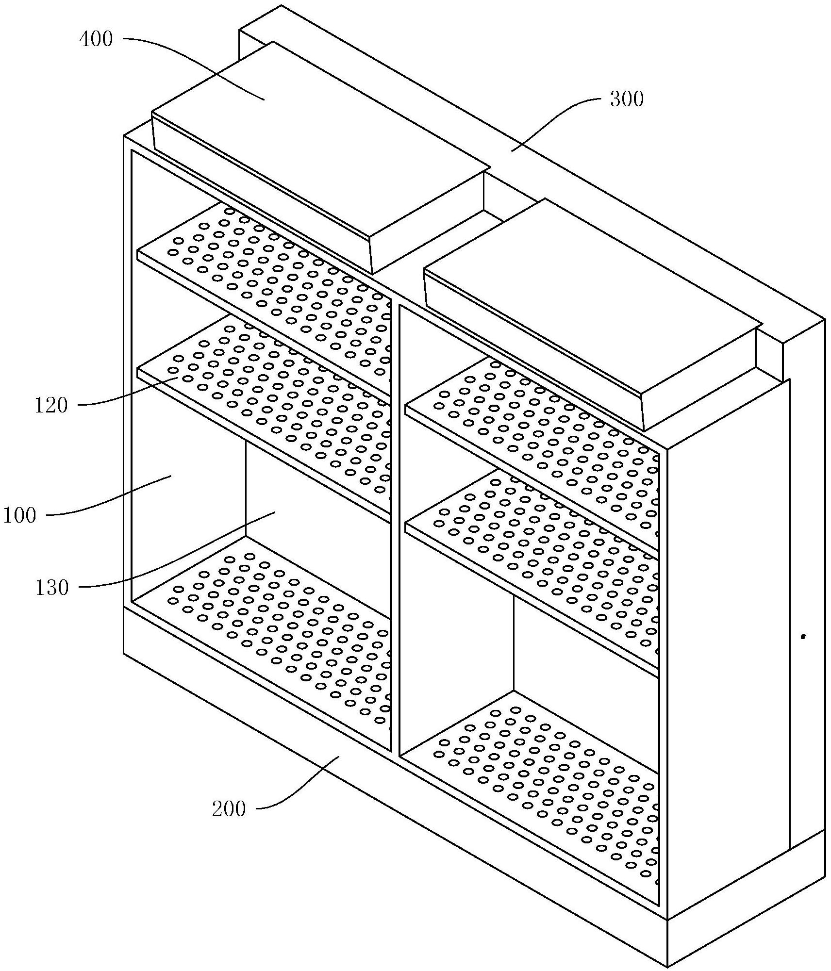
本实用新型公开了一种防潮置衣柜,包括:柜体,顶部设有进风口,底部镂空;出风柜,设置于柜体底部,与柜体连通;风道柜,安装于出风柜;风道柜与柜体之间形成风道,风道与出风柜连通;除湿机,设于柜体顶部;除湿机进口与风道连通,出口与进风口连通。根据本实用新型的一种防潮置衣柜,能有效地降低衣柜内的湿度,保持衣柜内的衣物干燥,使衣柜内的衣物保存的更加完好。


