授权公布号:CN213663962U
一款增加后跟稳定性的U型杯多功能鞋垫
有效
申请
2019-12-29
申请公布
1970-01-01
授权
2021-07-13
预估到期
2029-12-29
| 申请号 | CN201922413233.5 |
| 申请日 | 2019-12-29 |
| 授权公布号 | CN213663962U |
| 授权公告日 | 2021-07-13 |
| 分类号 | A43B17/00;A43B17/08;A43B17/02;A43B17/10;B32B27/06;B32B27/28;B32B27/12;B32B3/08;B32B3/28;B32B33/00 |
| 分类 | 鞋类; |
| 申请人名称 | 北京格雷时尚科技有限公司 |
| 申请人地址 | 北京市大兴区工业开发区金苑路甲15号 |
专利法律状态
2021-07-13
授权
状态信息
授权
摘要
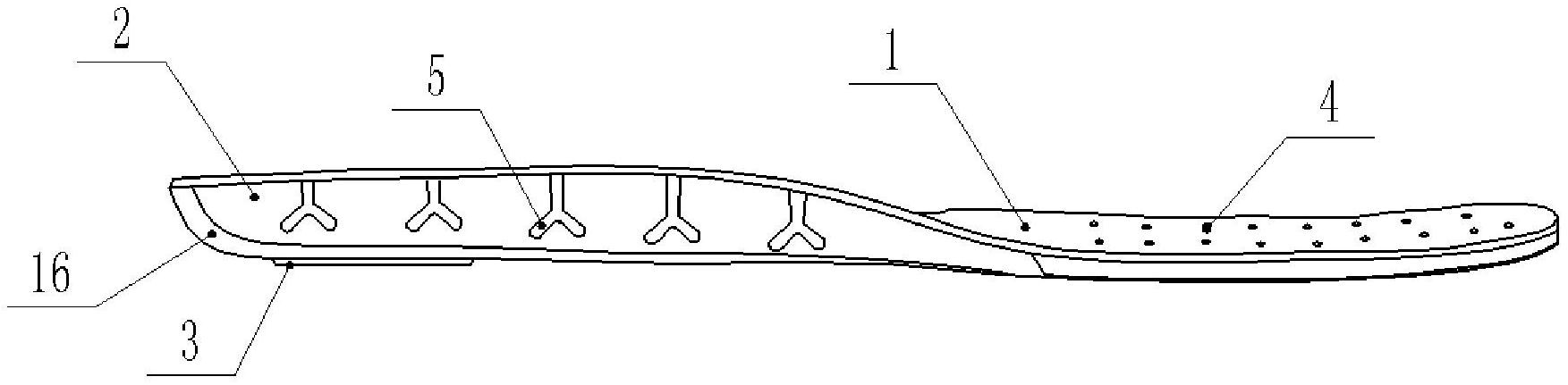
本实用新型公开了一款增加后跟稳定性的U型杯多功能鞋垫,包括鞋垫主体、U型后跟杯、透气孔、乳胶垫、高密度海绵层和面料,所述鞋垫主体的左半部设有U型后跟杯,U型后跟杯底部的脚后跟位置处设有开口槽,开口槽内设有乳胶垫,高密度海绵层设置在鞋垫主体的右半部,高密度海绵层的左端设有卡块,U型后跟杯的右端设有卡槽,卡块能够卡在卡槽内,且U型后跟杯和高密度海绵层粘接在一起。本实用新型结使用方便,不仅具有吸湿透气,使鞋腔形成排气循环系统,有效分散湿气,保持鞋腔干爽,一定程度上有效预防足部疾病的产生;还具有分散足底压力,缓解后跟及前脚掌疼痛的效果;并具有高效回弹,提供足底支撑,有效节省行走能耗。


