授权公布号:CN220512327U
一种鞋子生产用鞋子表面高效清洗装置
有效
申请
2023-05-12
申请公布
1970-01-01
授权
2024-02-23
预估到期
2033-05-12
| 申请号 | CN202321143207.5 |
| 申请日 | 2023-05-12 |
| 授权公布号 | CN220512327U |
| 授权公告日 | 2024-02-23 |
| 分类号 | A43D95/08;B08B3/02;B08B1/12;B08B1/20 |
| 分类 | 鞋类; |
| 申请人名称 | 意尔康股份有限公司 |
| 申请人地址 | 浙江省丽水市温溪镇温中东路239号 |
专利法律状态
2024-02-23
授权
状态信息
授权
摘要
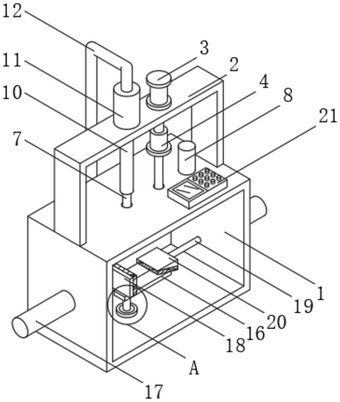
本实用新型公开了一种鞋子生产用鞋子表面高效清洗装置,包括壳体,所述壳体的顶部固定连接有支架,所述支架顶部的右侧固定连接有电动伸缩杆,所述电动伸缩杆的底部固定连接有电机,所述电机的输出端固定连接有主动齿轮,所述主动齿轮的左侧啮合有从动齿轮,从动齿轮的内腔固定连接有喷头。本实用新型通过壳体、支架、电动伸缩杆、电机、主动齿轮、从动齿轮、喷头、伸缩柱、连接杆、喷水管、水泵、抽水管、密封圈、轴承、转轴、支撑板、第一弹性伸缩杆、第一刷板、第二弹性伸缩杆、第二刷板和PLC控制器的配合,解决了目前都是人工手动洗刷,长时间工作后不仅导致工作人员疲劳,而且会影响洗刷效果,无法满足使用要求的问题。


