授权公布号:CN213405056U
一种鞋底防震耐磨的特种防震鞋
有效
申请
2020-11-11
申请公布
1970-01-01
授权
2021-06-11
预估到期
2030-11-11
| 申请号 | CN202022595303.6 |
| 申请日 | 2020-11-11 |
| 授权公布号 | CN213405056U |
| 授权公告日 | 2021-06-11 |
| 分类号 | A43B7/14;A43B7/32;A43B13/18;A43B13/22;A43B13/20;A43B3/06;A61N2/08 |
| 分类 | 鞋类; |
| 申请人名称 | 浙江金萨克服饰皮具有限公司 |
| 申请人地址 | 浙江省温州市平阳县昆阳镇联东北路135号 |
专利法律状态
2021-06-11
授权
状态信息
授权
摘要
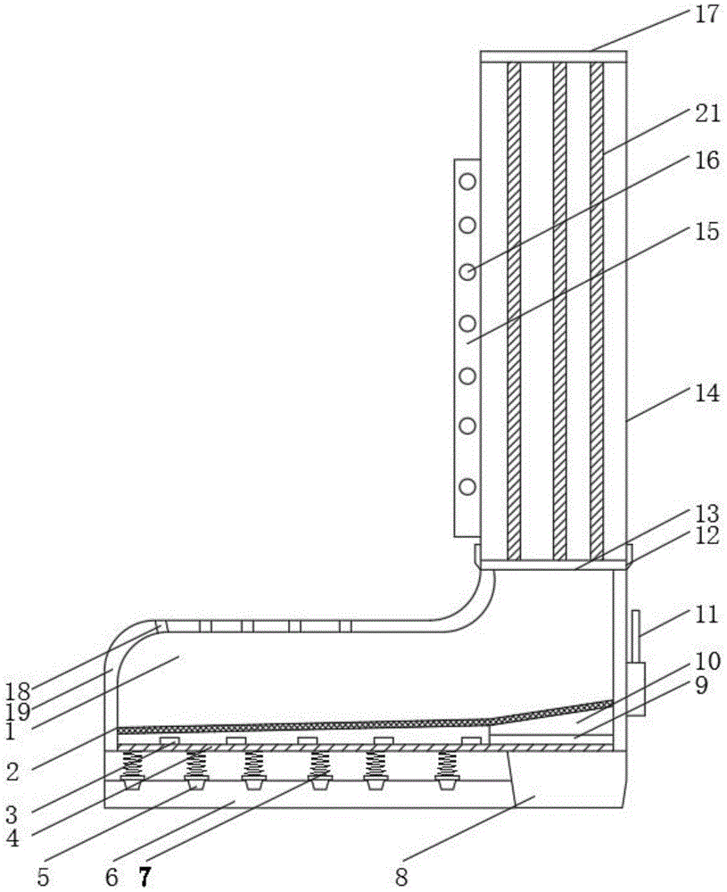
本实用新型公开了一种鞋底防震耐磨的特种防震鞋,包括鞋体,所述鞋体的上端右侧设置有拉链,所述拉链的上端与鞋筒的底端活动连接在一起,所述鞋筒的内壁设置有骨架,所述鞋体的内侧底部设置有垫板,所述垫板的上端设置有磁疗石,所述垫板的上端右侧设置有垫片,所述垫板的下端设置有减震弹簧,所述减震弹簧的底端与固定垫锥的顶面固定连接在一起,所述固定垫锥的底端与底板的顶面固定连接在一起,所述底板的右侧设置有气垫。本实用新型中,在垫板的底部安装多个减震弹簧,在减震弹簧的底端设置有固定垫锥,从而能够降低鞋体向下运动与地面接触后产生的震动感。


