授权公布号:CN208286514U
一种新型鞋楦
失效
申请
2018-06-13
申请公布
1970-01-01
授权
2018-12-28
预估到期
2028-06-13
| 申请号 | CN201820911926.X |
| 申请日 | 2018-06-13 |
| 授权公布号 | CN208286514U |
| 授权公告日 | 2018-12-28 |
| 分类号 | A43D3/02 |
| 分类 | 鞋类; |
| 申请人名称 | 浙江大东鞋业有限公司 |
| 申请人地址 | 浙江省温州市瑞安市北工业园区 |
专利法律状态
2023-07-07
专利权的终止
状态信息
未缴年费专利权终止;IPC(主分类):A43D3/02;申请日:20180613;授权公告日:20181228
2018-12-28
授权
状态信息
授权
摘要
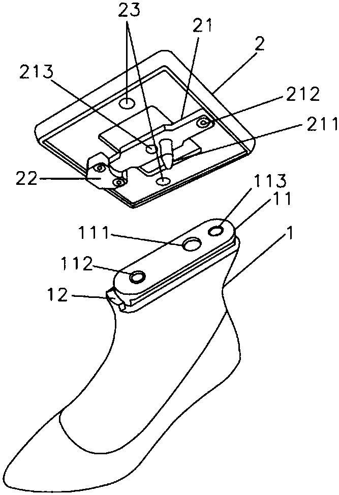
本实用新型公开了一种新型鞋楦,包括楦体,所述楦体上顶面设置有固定板,所述在与鞋楦的楦体沿脚趾方向的固定板一端面设置有凸起,所述固定板上开有固定孔,所述楦体上固定板固定在一底座上,所述底座上设置有与固定板相匹配的楦体固定座,所述楦体固定座上设置有栓体,所述栓体一顶端的楦体固定座上设置有枕部,在楦体放置在楦体固定座上时通过栓体和固定孔相配合,且通过枕部和楦体顶端的凸起相抵进行固定连接。本实用新型其设计合理,结构简单,便于安装与制作,同时更加使得鞋楦稳定性能得到大大提高,避免出现鞋楦前栽现象的发生,更加有利于满足人们的使用需求。


