授权公布号:CN218303647U
一种便于收紧鞋带的跑鞋
有效
申请
2022-06-18
申请公布
1970-01-01
授权
2023-01-17
预估到期
2032-06-18
| 申请号 | CN202221533008.0 |
| 申请日 | 2022-06-18 |
| 授权公布号 | CN218303647U |
| 授权公告日 | 2023-01-17 |
| 分类号 | A43B5/06;A43B7/12;A43B23/26;A43B23/02;A43C1/06 |
| 分类 | 鞋类; |
| 申请人名称 | 福建泉州匹克体育用品有限公司 |
| 申请人地址 | 福建省泉州市丰泽区东海街道东宝工业区 |
专利法律状态
2023-01-17
授权
状态信息
授权
摘要
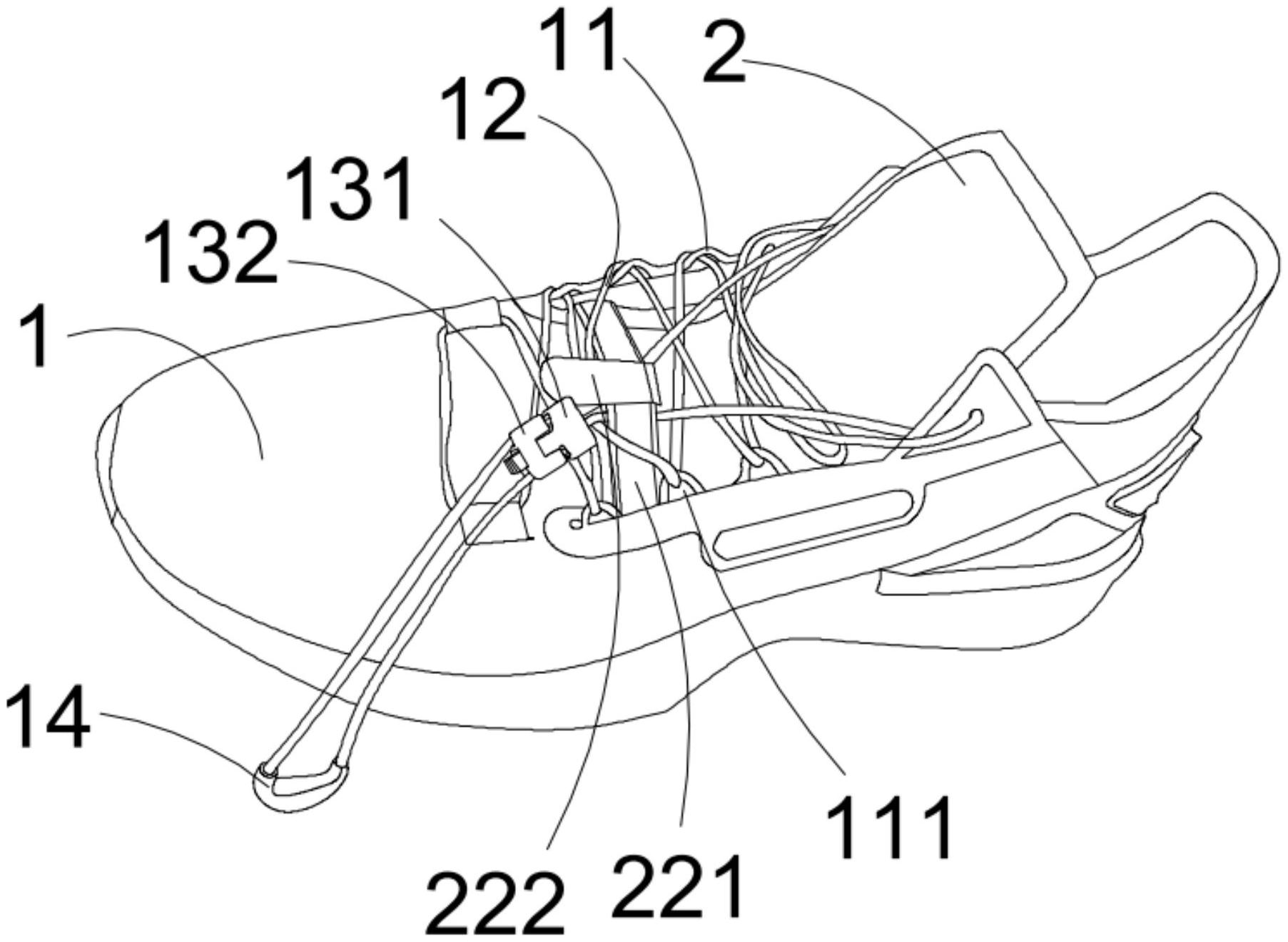
本申请涉及运动鞋技术领域,尤其是涉及的是一种便于收紧鞋带的跑鞋。跑鞋包括设有固定绳的鞋面和鞋底,固定绳相间固设于鞋面并且与鞋面构成若干个穿孔,鞋面上设有鞋带,鞋带依次对称穿过穿孔,鞋带设有固定组件与连接件,鞋带两端同时穿过固定组件,鞋带两端分别与连接件的两端相连,此时鞋带形成一个闭环。本申请通过设置固定组件和限位组件,便于鞋带收紧并防止鞋带掉落的同时,设置固定绳与固定组件,增加鞋子包裹性,大大提高用户舒适度。


