授权公布号:CN215603517U
一种跑鞋
有效
申请
2021-06-28
申请公布
1970-01-01
授权
2022-01-25
预估到期
2031-06-28
| 申请号 | CN202121444302.X |
| 申请日 | 2021-06-28 |
| 授权公布号 | CN215603517U |
| 授权公告日 | 2022-01-25 |
| 分类号 | A43B5/06;A43B23/02;A43B7/32;A43B13/22 |
| 分类 | 鞋类; |
| 申请人名称 | 昆山多威体育用品有限公司 |
| 申请人地址 | 江苏省苏州市昆山市周市镇周新公路58号 |
专利法律状态
2022-01-25
授权
状态信息
授权
摘要
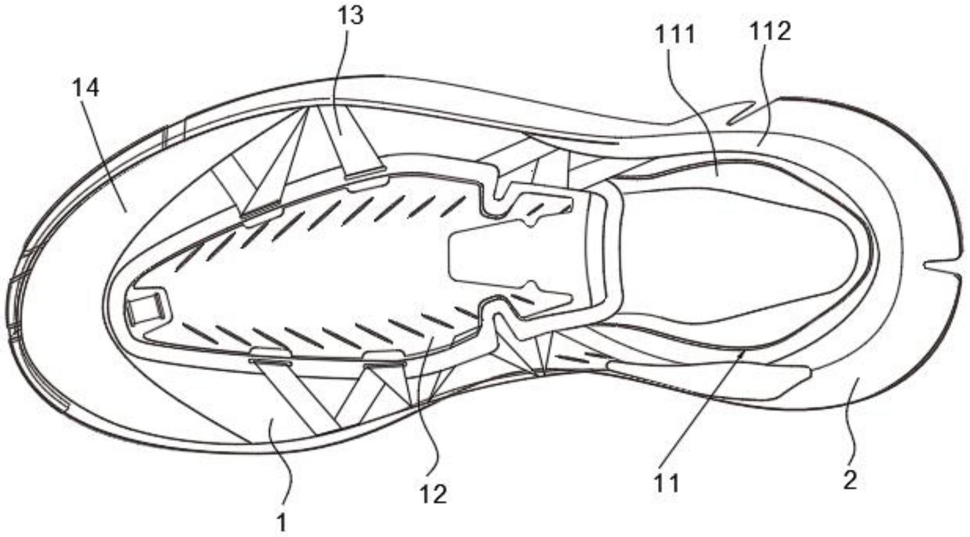
本实用新型属于服饰技术领域,公开一种跑鞋,包括鞋身和鞋底,鞋身用于包裹人脚,鞋身包括鞋帮,鞋帮的内侧设置有支撑部,鞋帮的外侧设置有缓冲部;鞋身固定于鞋底上,鞋底用于支撑鞋身。在跑步时,鞋底的鞋跟部着地,支撑部能够支撑脚踝,防止人脚的脚跟不稳、晃动或者是内外翻情况的发生,同时缓冲部能够吸收鞋跟部落地时的冲击力,为脚踝提供缓震作用。


