授权公布号:CN215603545U
一种鞋底及训练鞋
有效
申请
2021-06-30
申请公布
1970-01-01
授权
2022-01-25
预估到期
2031-06-30
| 申请号 | CN202121471355.0 |
| 申请日 | 2021-06-30 |
| 授权公布号 | CN215603545U |
| 授权公告日 | 2022-01-25 |
| 分类号 | A43B13/22;A43B13/14;A43B5/00 |
| 分类 | 鞋类; |
| 申请人名称 | 昆山多威体育用品有限公司 |
| 申请人地址 | 江苏省苏州市昆山市周市镇周新公路58号 |
专利法律状态
2022-01-25
授权
状态信息
授权
摘要
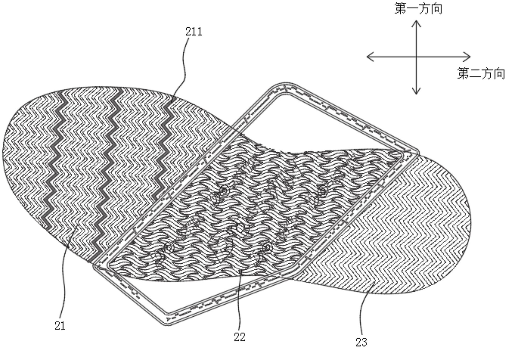
本实用新型属于服饰技术领域,公开一种鞋底及训练鞋,鞋底包括中底和大底,中底用于支撑人脚,大底连接在中底的底部,大底的底部设置有第一花纹、第二花纹和第三花纹,第一花纹位于大底的足前部,第二花纹位于大底的足弓部,第三花纹位于大底的足跟部;第一花纹和第三花纹沿第一方向延伸,第一花纹上间隔开设有折弯槽,第二花纹沿第二方向延伸;训练鞋包括上述的鞋底。第一花纹和第三花纹沿第一方向延伸,能够增加沿第二方向移动的摩擦力,第三花纹沿第二方向延伸,能够增加沿第一方向移动的摩擦力,例如攀绳运动时,而且第一花纹上折弯槽的设置更有利于人脚的脚掌在运动时折弯,提高运动舒适度。


