授权公布号:CN217242879U
一种跑鞋
有效
申请
2021-09-02
申请公布
1970-01-01
授权
2022-08-23
预估到期
2031-09-02
| 申请号 | CN202122106229.1 |
| 申请日 | 2021-09-02 |
| 授权公布号 | CN217242879U |
| 授权公告日 | 2022-08-23 |
| 分类号 | A43B5/06;A43B13/14;A43B7/14;A43B7/144 |
| 分类 | 鞋类; |
| 申请人名称 | 昆山多威体育用品有限公司 |
| 申请人地址 | 江苏省苏州市昆山市周市镇周新公路58号 |
专利法律状态
2022-08-23
授权
状态信息
授权
摘要
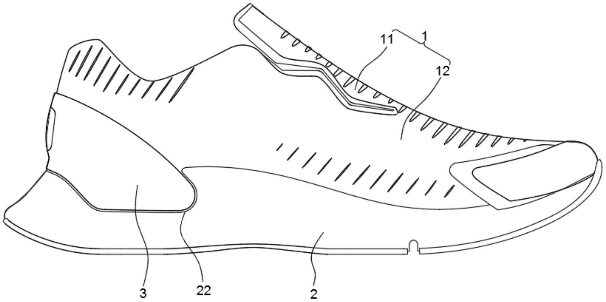
本实用新型属于服饰技术领域,公开一种跑鞋,包括鞋身、鞋底和支撑件,鞋身用于容纳人脚,鞋底连接在鞋身的底部,鞋底用于支撑鞋身,支撑件贴附在鞋身和鞋底的后跟部。支撑件能够支撑鞋身和鞋底的后跟部以保持后跟部的稳定,在运动者跑步时,支撑件能够从脚后跟引导运动者的跑步姿势,从而保护了运动者的脚部。


