授权公布号:CN218898611U
一种休闲鞋生产打码机
有效
申请
2022-11-22
申请公布
1970-01-01
授权
2023-04-25
预估到期
2032-11-22
| 申请号 | CN202223096819.1 |
| 申请日 | 2022-11-22 |
| 授权公布号 | CN218898611U |
| 授权公告日 | 2023-04-25 |
| 分类号 | A43D95/14 |
| 分类 | 鞋类; |
| 申请人名称 | 名郎(中国)有限公司 |
| 申请人地址 | 福建省泉州市台商投资区名郎工业园 |
专利法律状态
2023-04-25
授权
状态信息
授权
摘要
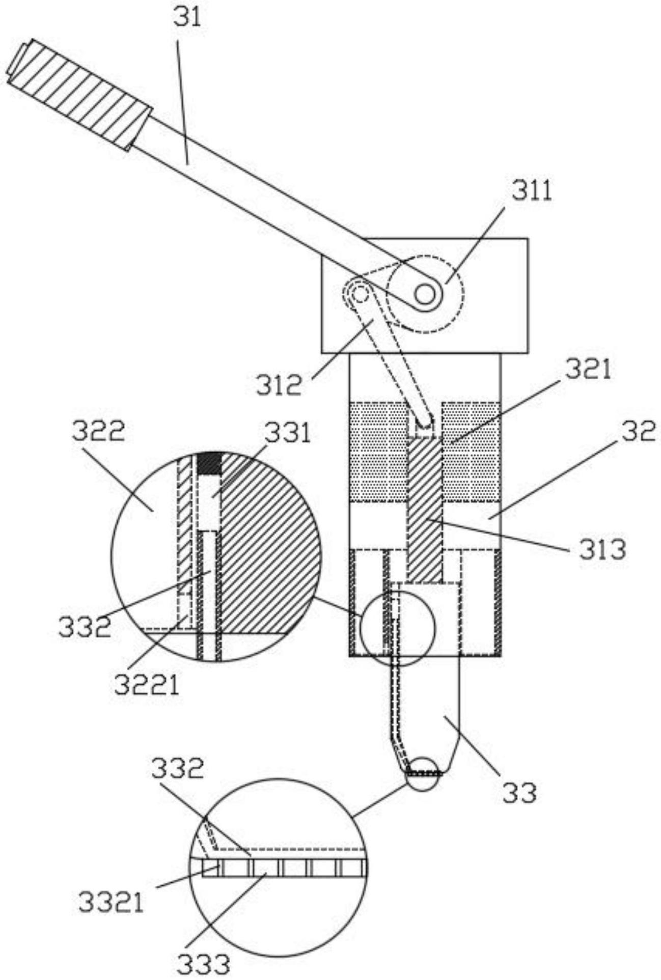
本实用新型公开了一种休闲鞋生产打码机,包括底座、支撑台、打印部、支撑柱,支撑台与支撑柱均设于与底座上,打印部安装支撑台上且位于支撑柱正上方;打印部包括摇杆、壳体、打印头,摇杆转动安装于壳体的侧面,打印头活动设于壳体下端,摇杆通过一连接件与打印头相连,以摆动摇杆通过连接件控制打印头上下伸缩,使用者可通过按压摇杆带动打印头下移挤压鞋子,在鞋子表面形成凹凸条纹以及具有识别性的颜色条纹,也可基于墨水的蔓延,通过将鞋子抵在打印头表面将条纹的图案印刷在鞋子表面,如此也可在鞋子表面形成识别效果,提高鞋子的被识别性。


