授权公布号:CN218500098U
一种减震鞋底
有效
申请
2021-12-07
申请公布
1970-01-01
授权
2023-02-21
预估到期
2031-12-07
| 申请号 | CN202123050112.2 |
| 申请日 | 2021-12-07 |
| 授权公布号 | CN218500098U |
| 授权公告日 | 2023-02-21 |
| 分类号 | A43B13/18;A43B13/22 |
| 分类 | 鞋类; |
| 申请人名称 | 探路者控股集团股份有限公司 |
| 申请人地址 | 北京市通州区光华路甲1号院5号楼六层613号 |
专利法律状态
2023-02-21
授权
状态信息
授权
摘要
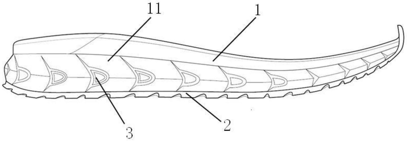
本实用新型公开了一种减震鞋底,其属于鞋子技术领域,包括减震层和防滑层,沿所述减震层的长度方向间隔设置有多个呈月牙形的减震孔,所述减震孔由所述减震层的后方向前方凸起,所述减震孔贯穿于所述减震层的宽度方向;所述防滑层固定连接于所述减震层的下端。本实用新型提出的减震鞋底减震效果好,舒适性好,重量小。


