授权公布号:CN220146756U
一种鞋底加工模具
有效
申请
2023-05-22
申请公布
1970-01-01
授权
2023-12-08
预估到期
2033-05-22
| 申请号 | CN202321241996.6 |
| 申请日 | 2023-05-22 |
| 授权公布号 | CN220146756U |
| 授权公告日 | 2023-12-08 |
| 分类号 | B29D35/06;B29C33/26 |
| 分类 | 塑料的加工;一般处于塑性状态物质的加工; |
| 申请人名称 | 石狮市天狮鞋服有限公司 |
| 申请人地址 | 福建省泉州市石狮市宝盖镇上埔村 |
专利法律状态
2023-12-08
授权
状态信息
授权
摘要
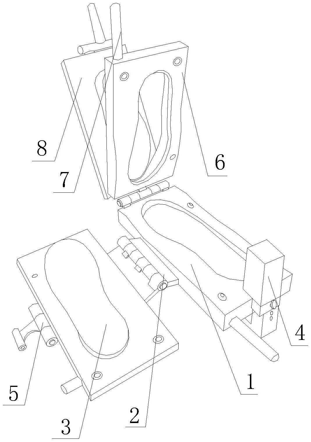
本实用新型公开了一种鞋底加工模具,包括模具基座、合页板、第一加工模具、夹紧装置、连接合板、辅助套模具、把杆、第二加工模具,夹紧装置设置在模具基座前端,本实用新型夹紧装置的辅助伸缩机构可对不同厚度的模具进行调节夹合,随后夹紧装置内部的转杆进行顺时针旋转,轴套则会向上移动,若是逆时针旋转,则轴套向下移动,且轴套与夹紧机构相连接,向上移动时,夹紧装置的夹紧处会向下移动,从而将加工模具卡合在座体与辅助伸缩机构之间,从而完成夹紧工作,而解除夹紧效果,只需要轴套在转杆配合下向下移动,便可解除夹紧效果,从而避免传统模具在合并注塑时,可能会出现溢出的情况发生,保证加工模具的密闭性。


