授权公布号:CN215228936U
一种新型束腰带
有效
申请
2021-07-27
申请公布
1970-01-01
授权
2021-12-21
预估到期
2031-07-27
| 申请号 | CN202121724476.1 |
| 申请日 | 2021-07-27 |
| 授权公布号 | CN215228936U |
| 授权公告日 | 2021-12-21 |
| 分类号 | A61F5/03;A61N1/32 |
| 分类 | 医学或兽医学;卫生学; |
| 申请人名称 | 浙江艾恋针织服饰有限公司 |
| 申请人地址 | 浙江省金华市义乌市北苑街道工业区秋实路100号 |
专利法律状态
2021-12-21
授权
状态信息
授权
摘要
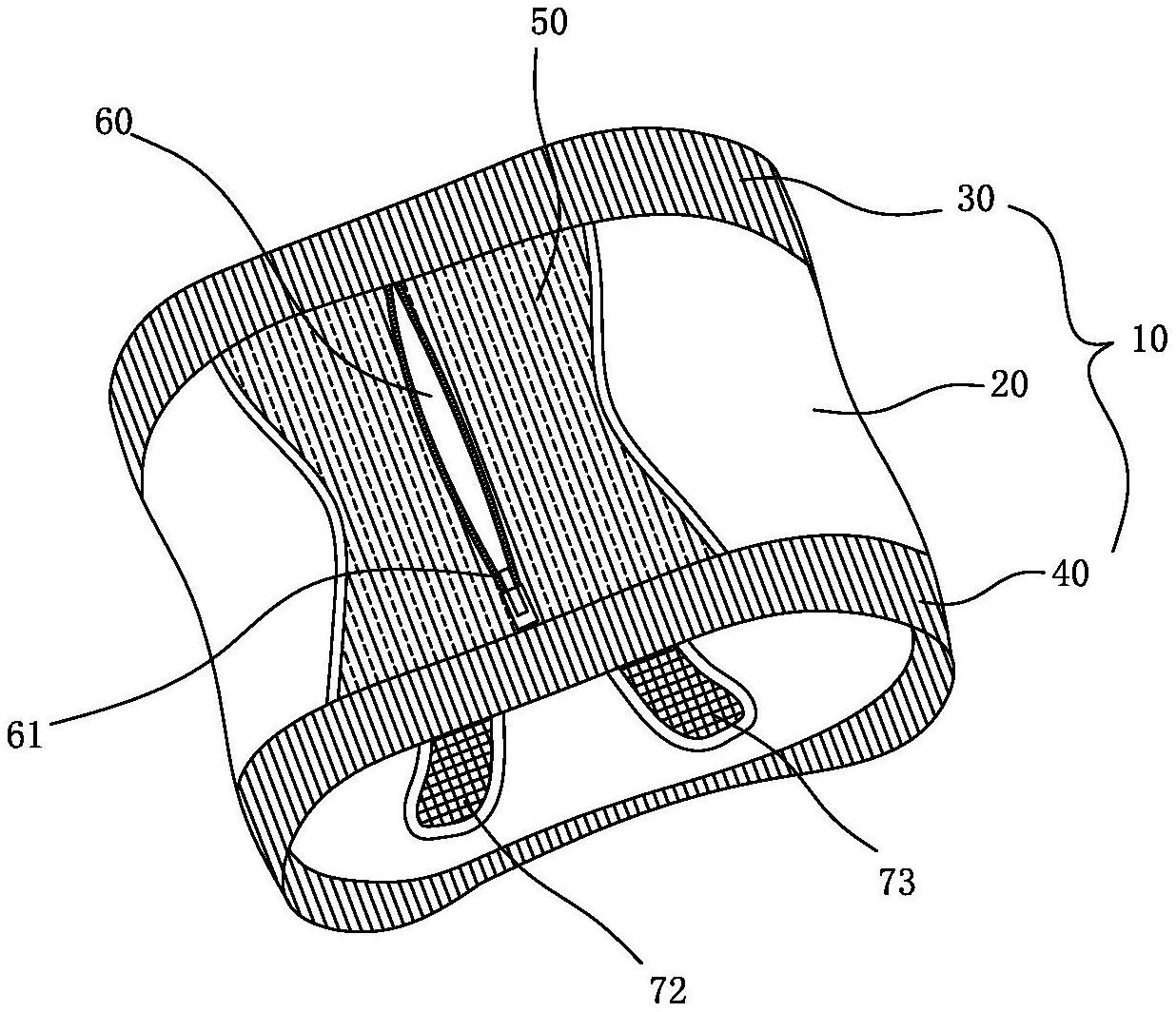
本实用新型涉及一种新型束腰带。它包括束腰带本体,所述束腰带本体包括主带体、上松紧带和下松紧带;所述主带体的前侧区域还设有平铺设置的约束片,所述约束片的边缘与主带体固定连接,使两者之间形成有夹层;所述约束片在竖直方向的伸展性为大于水平方向上的伸展性;所述约束片上设有竖直分布且可开合的切口。约束片位于腹部前侧,约束片横向不可拉伸的效果使得本实用新型在腹部区域可提供更大的约束力,这样不仅可以提升腹部的塑身效果,还有助于将腹部的赘肉转移至胸部;约束片在竖直方向上的伸缩性使得穿着状态下腰部可以自由弯曲伸展,减轻束缚感。同时使用者还可通过该切口向夹层内装填暖宝宝等其他用于腹部的产品。


