授权公布号:CN220442065U
一种鞋业制造容纳组合筐
有效
申请
2023-07-20
申请公布
1970-01-01
授权
2024-02-06
预估到期
2033-07-20
| 申请号 | CN202321921080.5 |
| 申请日 | 2023-07-20 |
| 授权公布号 | CN220442065U |
| 授权公告日 | 2024-02-06 |
| 分类号 | A43D117/00 |
| 分类 | 鞋类; |
| 申请人名称 | 广东万里马实业股份有限公司 |
| 申请人地址 | 广东省东莞市长安镇建安路367号 |
专利法律状态
2024-02-06
授权
状态信息
授权
摘要
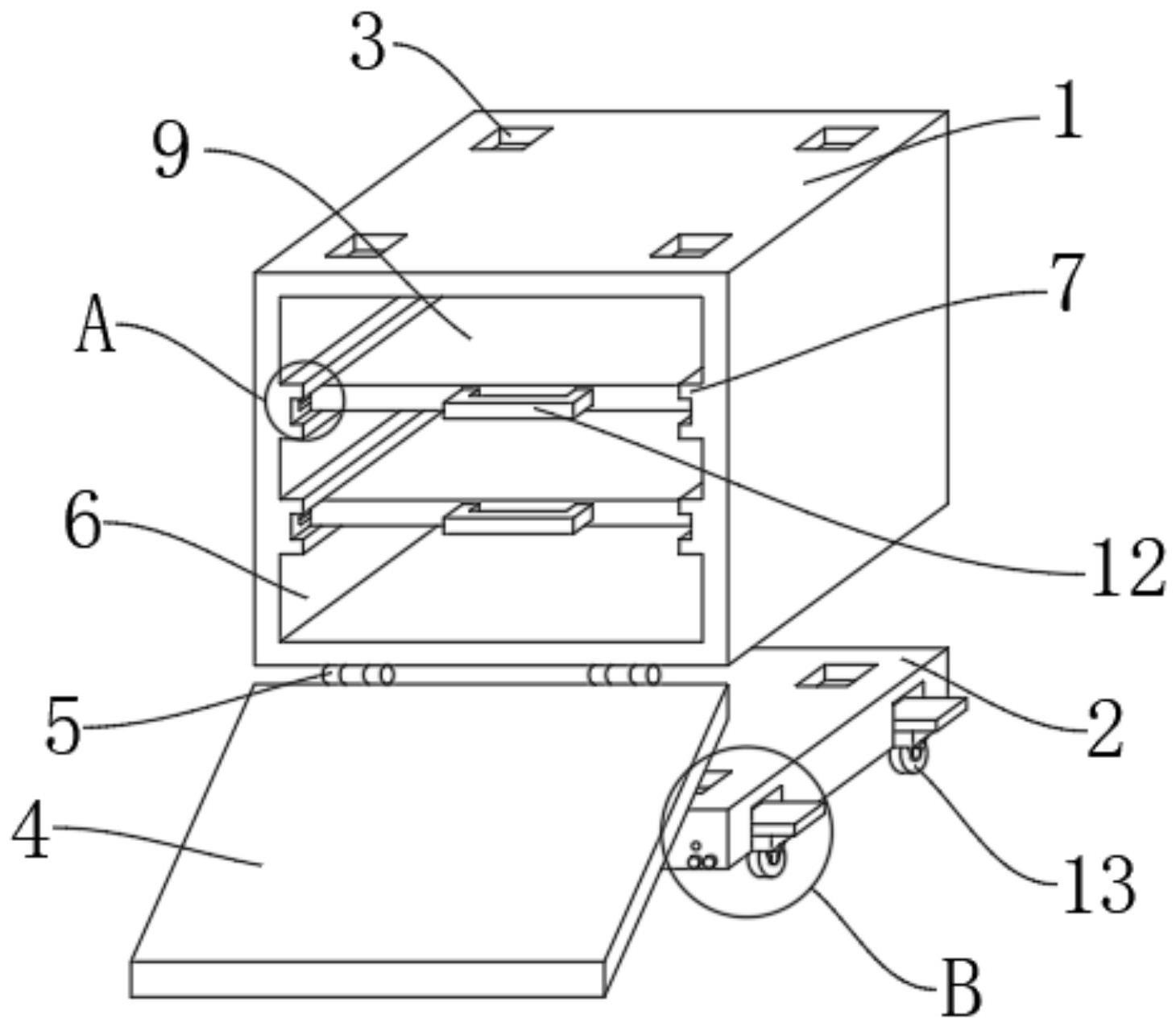
本实用新型公开了一种鞋业制造容纳组合筐,具体涉及鞋业制造技术领域,包括筐体和安装板,所述筐体和安装板顶部均设置有卡槽,所述筐体一侧设置有挡板,所述挡板和筐体连接处设置有合页,所述筐体内部设置有空腔,所述空腔两侧内部均设置有安装块,所述安装块内部设置有第一滑槽和第二滑槽,所述第一滑槽内部设置有放置板,所述放置板两侧均设置有滑块,所述放置板外侧设置有把手,所述安装板四角下方均设置有移动组件。本实用新型不仅可使物料的储存和拿取更加方便,而且可随时切换安装座的固定姿态和移动姿态,使得物料储存时更加稳定,物料转运时更加省力。


