授权公布号:CN218075654U
手指康复训练手套用气泵
有效
申请
2022-06-29
申请公布
1970-01-01
授权
2022-12-20
预估到期
2032-06-29
| 申请号 | CN202221636850.7 |
| 申请日 | 2022-06-29 |
| 授权公布号 | CN218075654U |
| 授权公告日 | 2022-12-20 |
| 分类号 | A61H1/02;A61H9/00;F04B37/14;F04B39/08;F04B39/10 |
| 分类 | 医学或兽医学;卫生学; |
| 申请人名称 | 河北佳禾医疗器械有限公司 |
| 申请人地址 | 河北省衡水市冀州区昌成东路535号 |
专利法律状态
2022-12-20
授权
状态信息
授权
摘要
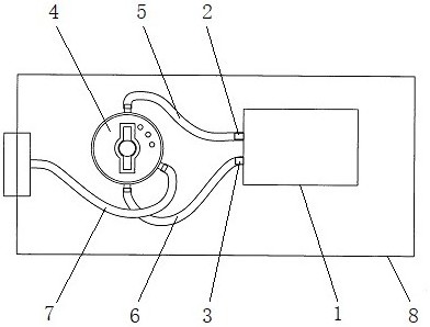
本实用新型属于气泵技术领域,公开了一种手指康复训练手套用气泵。其主要技术特征为:包括带有出气端、进气端的微型真空泵体,所述的微型真空泵体通过第一气管、第二气管与气流转换装置连接,气流转换装置包括下固定阀体、上旋转阀体及转换电机,所述的下固定阀体设置有下中心通孔、进气管、进气口、回气管、回气口、送气管、送气口、第三气管;所述的上旋转阀体设置有上中心通孔、第一前导气凹槽、第一后导气凹槽、第二导气凹槽、通气孔、通气道,上旋转阀体的顶面设置有旋转凹槽,旋转凹槽内的横杆穿过转换电机的转轴的顶端。本实用新型所提供的手指康复训练手套用气泵,采用机械结构的阀门控制充放气,其结构简单,成本低,不易出问题,维修简单。


