授权公布号:CN210447448U
波动、翻身型防褥疮气垫
有效
申请
2019-07-09
申请公布
1970-01-01
授权
2020-05-05
预估到期
2029-07-09
| 申请号 | CN201921063147.X |
| 申请日 | 2019-07-09 |
| 授权公布号 | CN210447448U |
| 授权公告日 | 2020-05-05 |
| 分类号 | A61G7/057;A61H9/00 |
| 分类 | 医学或兽医学;卫生学; |
| 申请人名称 | 河北佳禾医疗器械有限公司 |
| 申请人地址 | 河北省衡水市冀州区昌成东路535号 |
专利法律状态
2020-05-05
授权
状态信息
授权
摘要
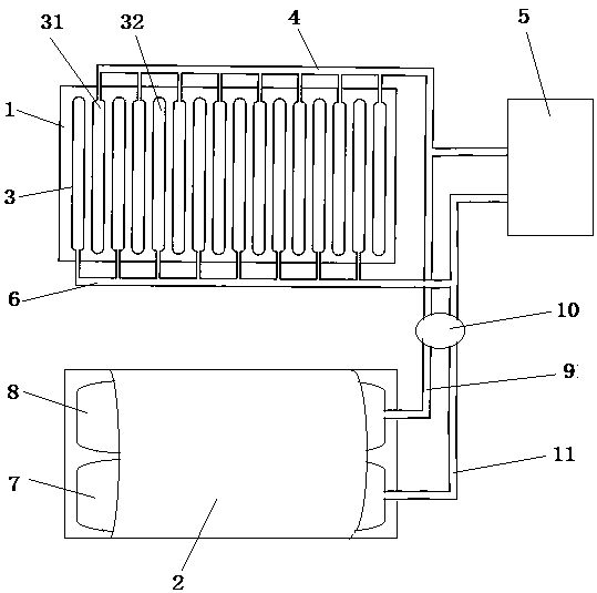
本实用新型属于医疗器具技术领域,公开了一种波动、翻身型防褥疮气垫。其主要技术特征为:包括上层底布和下层布套,所述的上层底布上横向设置有多个气囊,多个气囊相隔分为第一组气囊和第二组气囊,第一组气囊通过第一上导气管与气泵相连接,第二组气囊通过第二上导气管与气泵相连接,下层布套上纵向设置有左侧下层气袋和右侧下层气袋,右侧下层气袋设置有第一下导气管,第一下导气管通过开关阀与第一上导气管连通,左侧下层气袋设置有第二下导气管,第二下导气管通过开关阀与第二上导气管连通。本实用新型所提供的波动、翻身型防褥疮气垫,既能前后波动,又能左右摆动,满足不同需求。


