授权公布号:CN107106002B
用于测量隐斜视的设备以及使用该设备测量隐斜视的方法
有效
申请
2014-12-25
申请公布
2017-08-29
授权
2020-07-28
预估到期
2034-12-25
| 申请号 | CN201480084311.9 |
| 申请日 | 2014-12-25 |
| 申请公布号 | CN107106002A |
| 申请公布日 | 2017-08-29 |
| 授权公布号 | CN107106002B |
| 授权公告日 | 2020-07-28 |
| 分类号 | A61B3/08 |
| 分类 | 医学或兽医学;卫生学; |
| 申请人名称 | 上海依视路光学有限公司 |
| 申请人地址 | 法国莎朗通 |
专利法律状态
2020-07-28
授权
状态信息
授权
2017-12-29
实质审查的生效
状态信息
实质审查的生效;IPC(主分类):A61B3/08;申请日:20141225
2017-08-29
公布
状态信息
公布
摘要
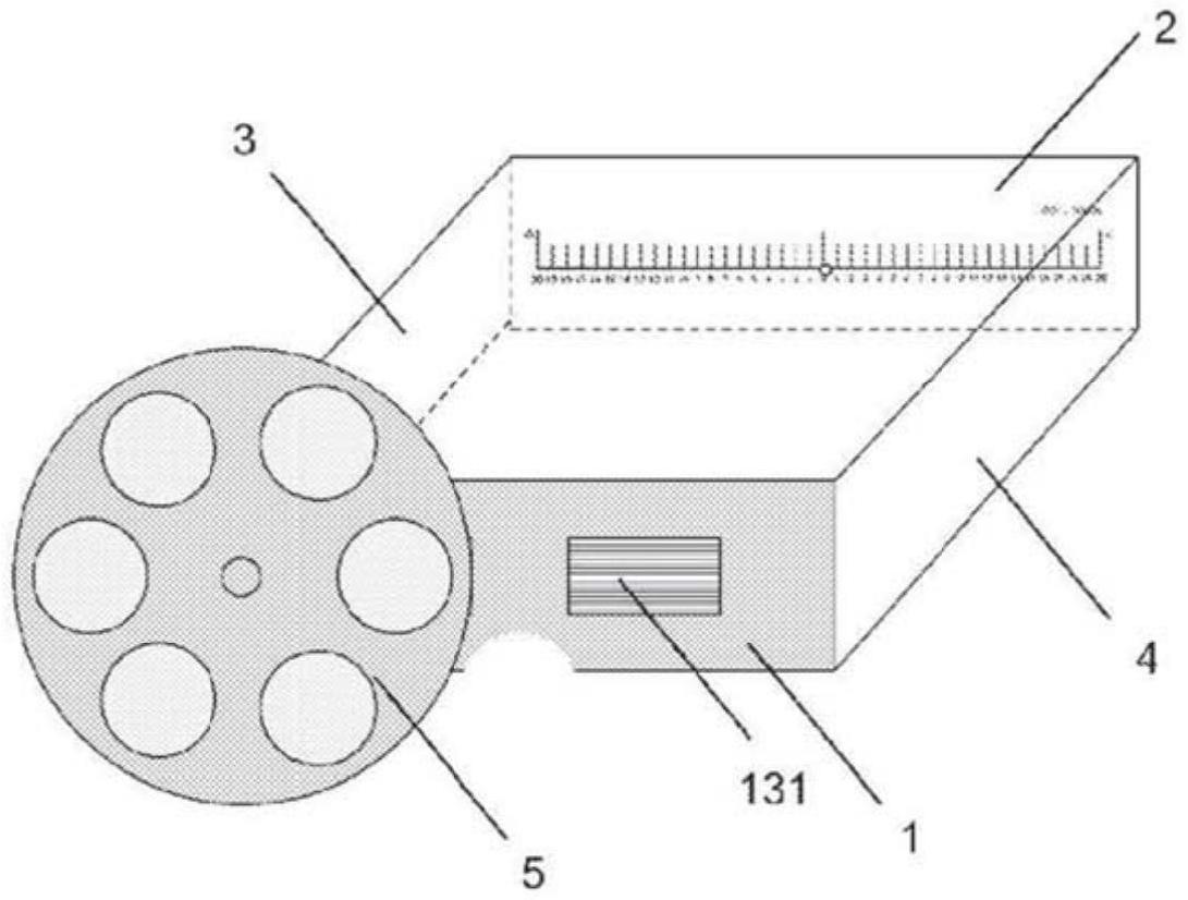
本发明提供了一种用于测量隐斜视的设备,该设备包括:前侧(1),该前侧包括与该受试者的眼睛的位置相对应的开口(11);后侧(2),该后侧平行于前侧(1)并呈现出视觉显示图案(21),该视觉显示图案朝向前侧(1)设置并被配置成在隐斜视测量中使用;以及光学装置(5),该光学装置包含至少一组镜片,该至少一组镜片具有与该受试者的不同调节需求相对应的不同焦度,其中,光学装置(5)被定位成对应于开口(11)并在该受试者的至少一只眼睛的前方,使得视觉显示图案(21)被适配成由该受试者透过光学装置(5)来观看。该设备提供廉价、简单、快速和精确的方式来在不同调节值下测量隐斜视。


