授权公布号:CN211882435U
一种便于清洁的防飞沫帽子
有效
申请
2020-03-23
申请公布
1970-01-01
授权
2020-11-10
预估到期
2030-03-23
| 申请号 | CN202020370077.9 |
| 申请日 | 2020-03-23 |
| 授权公布号 | CN211882435U |
| 授权公告日 | 2020-11-10 |
| 分类号 | A42B1/18 |
| 分类 | 帽类制品; |
| 申请人名称 | 泰州捷锋帽业有限公司 |
| 申请人地址 | 江苏省泰州市姜堰区白米镇工业园区 |
专利法律状态
2020-11-10
授权
状态信息
授权
摘要
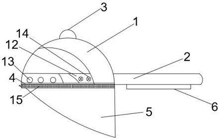
本实用新型公开了一种便于清洁的防飞沫帽子,包括帽体和帽檐,所述帽体的顶部设有挂带,所述帽体的底部设有连接部,所述连接部的底部设有透明面罩,所述连接部和透明面罩之间活动连接,所述帽体的前端设有帽檐,所述帽檐上设有清理袋,所述清理袋的顶部设有袋帽,所述袋帽上设有拉带,所述拉带和帽檐表面之间还设有锁扣装置。本实用新型的优点是:通过设置透明面罩防止飞沫传播,同时设有清理袋用于携带清理物,可以及时对透明面罩上的灰尘和飞沫进行清理。


