授权公布号:CN212212869U
一种帽顶打扣机定位装置
有效
申请
2020-04-16
申请公布
1970-01-01
授权
2020-12-25
预估到期
2030-04-16
| 申请号 | CN202020562544.8 |
| 申请日 | 2020-04-16 |
| 授权公布号 | CN212212869U |
| 授权公告日 | 2020-12-25 |
| 分类号 | A42C1/08 |
| 分类 | 帽类制品; |
| 申请人名称 | 泰州捷锋帽业有限公司 |
| 申请人地址 | 江苏省泰州市姜堰区白米镇工业园区 |
专利法律状态
2020-12-25
授权
状态信息
授权
摘要
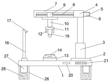
本实用新型公开了一种帽顶打扣机定位装置,包括底座,底座的右侧设有固定座,固定座的顶部安装有液压伸缩杆,液压伸缩杆的顶部固定连接有固定块,固定块的一侧固定连接有电机架,电机架中安装有旋转电机,固定块的另一侧固定连接有滑动架、螺纹杆、滑动块、冲压头、冲压座、定位块,定位块的两侧安装有红外线发射器,冲压座上设有和冲压头相对应的凹槽,冲压座上且位于凹槽的两边设有与红外线发射器相对应的红外线接收器,底座的左侧还设有万向管,万向管的顶部固定有激光射灯。本实用新型通过红外线发射器和激光射灯可以实现冲压头和扣芯的快速校准,提升打扣机的打扣效率。


